LEMON Manuals: Even more car manuals for everyone: 1960-2025
Home >> Ford >> 2004 >> Excursion 5.4 L, 4WD >> Repair and Diagnosis (Single Page) >> Engine Performance >> System >> Engine Controls - Pinpoint Test DX: Engine Coolant Temperature (ECT) Sensor Through Pinpoint Test HC: Fuel Delivery System - CNG, Flex-Fuel & Gasoline >> Pinpoint Test FD: Brake Pedal Inputs >> Introduction >> Notes
April 5, 2026: LEMON Manuals is launched! Read the announcement.

Pinpoint Test FD: Brake Pedal Inputs: Introduction: Notes

NOTE: This pinpoint test is intended to diagnose the following:
  • Brake Pedal Position (BPP) switch.
  • Brake pedal applied (BPA).
  • Harness circuits: B+, BPP, BPA.
  • Powertrain control module (PCM) (12A650).
Fig 1: Identifying Brake Pedal Position (BPP) Switch Connector (1 Of 3)
G03626667Courtesy of FORD MOTOR CO.
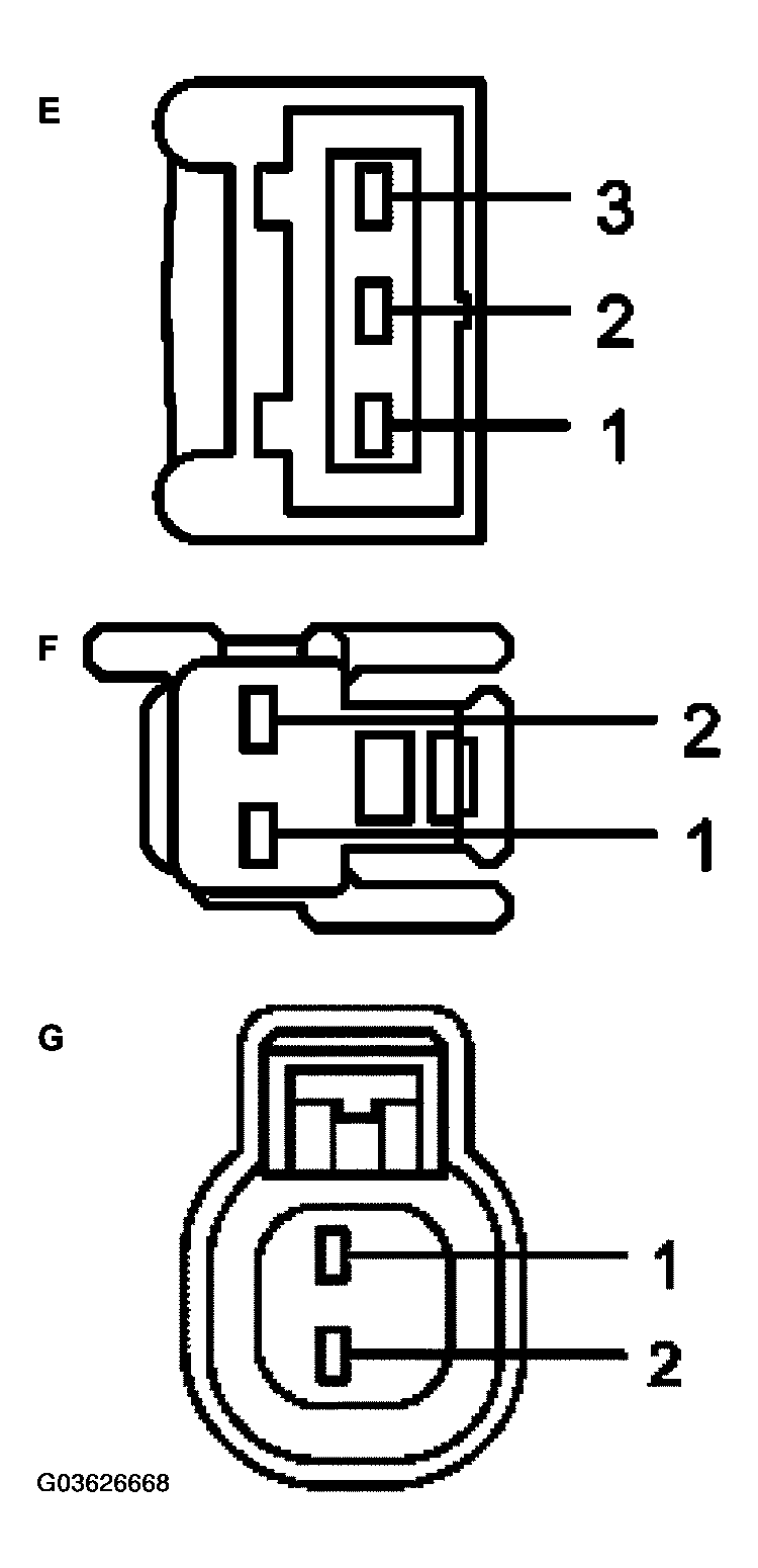
Fig 2: Identifying Brake Pedal Position (BPP) Switch Connector (2 Of 3)
G03626668Courtesy of FORD MOTOR CO.
Fig 3: Identifying Brake Pedal Position (BPP) Switch Connector (3 Of 3)
G03626669Courtesy of FORD MOTOR CO.
Fig 4: Identifying Brake Pressure Applied (BPA) Switch Connector
G03626670Courtesy of FORD MOTOR CO.