LEMON Manuals: Even more car manuals for everyone: 1960-2025
Home >> Ford >> 2004 >> Excursion 5.4 L, 4WD >> Repair and Diagnosis (Single Page) >> Engine Performance >> System >> Engine Controls - Theory & Operation - CNG, Flex-Fuel & Gasoline >> Exhaust Gas Recirculation (EGR) System Monitor - Delta Pressure Feedback (DPFE) EGR and EGR System Module (ESM) EGR
April 5, 2026: LEMON Manuals is launched! Read the announcement.

Exhaust Gas Recirculation (EGR) System Monitor - Delta Pressure Feedback (DPFE) EGR and EGR System Module (ESM) EGR

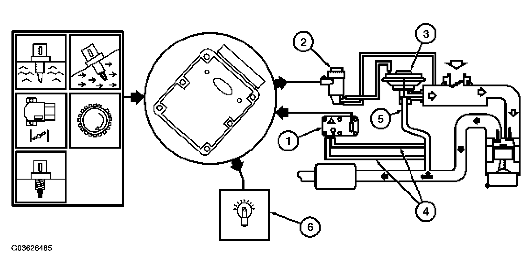
The EGR System Monitor is an on-board strategy designed to test the integrity and flow characteristics of the EGR system. The monitor is activated during EGR system operation and after certain base engine conditions are satisfied. Input from the ECT, CHT, IAT, TP and CKP sensors is required to activate the monitor. Once activated, the EGR System Monitor will perform each of the tests described below during the engine modes and conditions indicated. Some of the EGR System Monitor tests are also performed during on demand self-test.

NOTE: The Delta Pressure Feedback EGR (DPFE) sensor, EGR Vacuum Regulator (EVR) solenoid, Manifold Absolute Pressure (MAP) sensor and the EGR valve itself are integrated into one unit in the ESM EGR assembly. The ESM is not serviceable. If any one component fails within the ESM, the entire ESM assembly must be replaced.
  1. The Delta Pressure Feedback EGR sensor and circuit are continuously tested for opens and shorts. The monitor looks for the DPFE circuit voltage to exceed the maximum or minimum allowable limits.

    The DTCs associated with this test are DTCs P0405 or P1400 and P0406 or P1401.

  2. The EVR solenoid is continuously tested for opens and shorts. The monitor looks for an EVR circuit voltage that is inconsistent with the EVR circuit commanded output state.

    The DTC associated with this test is DTC P0403 or P1409.

  3. The test for a stuck open EGR valve or EGR flow at idle is continuously performed whenever at idle (TP sensor indicating closed throttle). The monitor compares the DPFE circuit voltage at idle to the DPFE circuit voltage stored during key on engine off to determine if EGR flow is present at idle.

    The DTC associated with this test is DTC P0402.

  4. The DPFE sensor hoses are tested once per drive cycle for disconnect and plugging. The test is performed with EGR valve closed and during a period of acceleration. The PCM will momentarily command the EGR valve closed. The monitor looks for the DPFE sensor voltage to be inconsistent for a no flow voltage. A voltage increase or decrease during acceleration while the EGR valve is closed may indicate a fault with a signal hose during this test.

    The DTCs associated with this test are DTC P1405 and P1406.

  5. The EGR flow rate test is performed during a steady state when engine speed and load are moderate and EVR duty cycle is high. The monitor compares the actual DPFE circuit voltage to a desired EGR flow voltage for that state to determine if EGR flow rate is acceptable or insufficient. This is a system test and may trigger a DTC for any fault causing the EGR system to fail.

    The DTC associated with this test is DTC P0401. DTC P1408 is similar to P0401 but performed during KOER Self-Test conditions.

  6. The MIL is activated after one of the above tests fails on two consecutive drive cycles.
Fig 1: Delta Pressure Feedback EGR Diagram
G03626485Courtesy of FORD MOTOR CO.
Fig 2: Identifying EGR System Module EGR Components
G03626486Courtesy of FORD MOTOR CO.