LEMON Manuals: Even more car manuals for everyone: 1960-2025
Home >> Ford >> 2004 >> Focus L4-2.3L VIN Z >> Repair and Diagnosis >> Specifications >> Mechanical Specifications >> Engine >> Timing Components >> Timing Cover
April 5, 2026: LEMON Manuals is launched! Read the announcement.

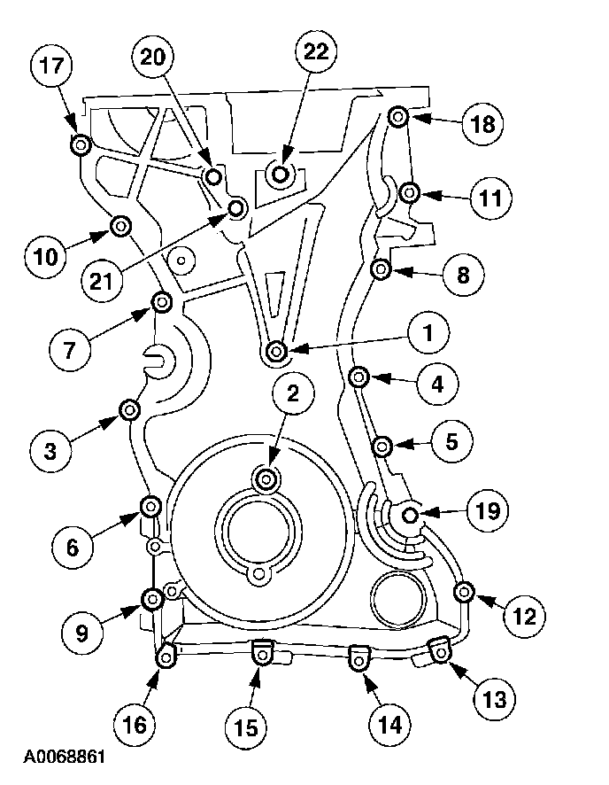
Timing Cover





Engine front cover bolts:
8 mm bolts 10 Nm (89 inch lbs.)
13 mm bolts 48 Nm (35 ft. lbs.)