LEMON Manuals: Even more car manuals for everyone: 1960-2025
Home >> Ford >> 2006 >> Freestar Base >> Repair and Diagnosis >> Transmission >> Automatic Trans >> Automatic Transmission >> Disassembly And Assembly Of Subassemblies >> Final Drive >> Assembly
April 5, 2026: LEMON Manuals is launched! Read the announcement.

Final Drive: Assembly

NOTE: If excessive wobble or rotational binding or damage is found, a new final drive planet and carrier will need to be installed.
  1. Inspect the differential pinion and side gears for looseness, discoloration, cracks or excessive gear wear.
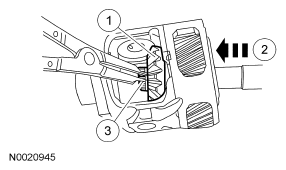
    1. Inspect the final drive planet gears.
    2. Inspect the pinion shaft bores.
      Fig 1: Identifying Differential Pinion And Side Gears
      G04661533Courtesy of FORD MOTOR CO.
  2. Install the differential side gear and differential side gear thrust washer.
    1. Install the differential side gear and differential side gear thrust washer.
    2. Install the output shaft.
    3. Install the retaining ring.
      Fig 2: Locating Differential Side Gear And Differential Side Gear Thrust Washer
      G04661534Courtesy of FORD MOTOR CO.
  3. Install the differential side gear and differential side gear thrust washer.
    Fig 3: Locating Differential Side Gear And Differential Side Gear Thrust Washer
    G04661535Courtesy of FORD MOTOR CO.
  4. Install the differential pinion gears and differential pinion thrust washers.
    Fig 4: Installing Differential Pinion Gears And Differential Pinion Thrust Washers
    G04661536Courtesy of FORD MOTOR CO.
  5. Install the differential pinion shaft.
    Fig 5: Locating Differential Pinion Shaft
    G04661537Courtesy of FORD MOTOR CO.
  6. Install the differential pinion shaft roll pin.
    Fig 6: Locating Differential Pinion Shaft Roll Pin
    G04661538Courtesy of FORD MOTOR CO.
  7. Install the final drive sun gear and deflector assembly.
    Fig 7: Locating Final Drive Sun Gear And Deflector Assembly
    G04661539Courtesy of FORD MOTOR CO.
  8. Install the park gear.
    Fig 8: Locating Park Gear
    G04661540Courtesy of FORD MOTOR CO.
  9. Install the No. 16 final drive gear front thrust bearing.
    Fig 9: Locating Final Drive Gear Front Thrust Bearing
    G04661541Courtesy of FORD MOTOR CO.
  10. Install new retaining circle clips.
    Fig 10: Locating Retaining Circle Clips
    G04661542Courtesy of FORD MOTOR CO.
  11. Install the low intermediate clutch piston and rear planet support.
    Fig 11: Locating Intermediate Clutch Piston And Rear Planet Support
    G04661543Courtesy of FORD MOTOR CO.