LEMON Manuals: Even more car manuals for everyone: 1960-2025
Home >> Ford >> 2006 >> Freestar Base >> Repair and Diagnosis >> Transmission >> Automatic Trans >> Automatic Transmission >> Disassembly >> Transaxle
April 5, 2026: LEMON Manuals is launched! Read the announcement.

Automatic Transmission: Disassembly: Transaxle

SPECIAL TOOL(S)

G04661221Courtesy of FORD MOTOR CO.
Slide Hammer
100-001 (T50T-100-A)
G04661222Courtesy of FORD MOTOR CO.
Remover, O-Ring Seal
100-010 (T71P-19703-C)
G04661223Courtesy of FORD MOTOR CO.
Step Plate
205-D014 (D80L-630-3)
G04661224Courtesy of FORD MOTOR CO.
Remover, Crankshaft Front Oil Seal
303-107 (T74P-6700-A)
G04661225Courtesy of FORD MOTOR CO.
Installer Front Cover Oil Seal
303-335 (T88T-6701-A)
G04661226Courtesy of FORD MOTOR CO.
Actuator Pin 3/16-Inch Diameter
303-D011 (D80L-100-G)
G04661227Courtesy of FORD MOTOR CO.
Collet 7/16-Inch - 1/2-Inch
303-D016 (D80L-100-M)
G04661228Courtesy of FORD MOTOR CO.
Holding Fixture Transmission
307-003 (T57L-500-B)
G04661229Courtesy of FORD MOTOR CO.
Slide Hammer
307-005 (T59L-100-B)
G04661230Courtesy of FORD MOTOR CO.
Handle, Torque Converter
307-091 (T81P-7902-C)
G04661231Courtesy of FORD MOTOR CO.
Lifting Fixture, Clutch Pack
307-171 (T86P-70389-A)
G04661232Courtesy of FORD MOTOR CO.
Remover/Installer, Servo Piston
307-251 (T92P-70023-A)
G04661233Courtesy of FORD MOTOR CO.
Remover, Torque Converter Fluid Seal
307-309 (T94P-77001-BH)
G04661234Courtesy of FORD MOTOR CO.
Remover, Lube Tube
307-310 (T94P-77001-CH)
G04661235Courtesy of FORD MOTOR CO.
Remover/Installer, Front Clutch
307-316 (T94P-77001-HH)
G04661236Courtesy of FORD MOTOR CO.
Retaining Ring Pliers
307-343 (T95P-77001-AHR)
    CAUTION: The torque converter is heavy. Be careful not to drop it or damage will result.
    Fig 1: Identifying Special Tool (307-091)
    G04661237Courtesy of FORD MOTOR CO.
  1. Using the special tools, remove the torque converter.
  2. Using the special tool, install the transaxle into the bench.
    Fig 2: Identifying Special Tool (307-003)
    G04661238Courtesy of FORD MOTOR CO.
  3. NOTE: When installing a new case, the identification tag must be transferred to the new case, use caution to prevent damage to the tag.
    Fig 3: Removing Identification Tag
    G04661239Courtesy of FORD MOTOR CO.
  4. Remove the identification tag.
  5. Place a drain pan under the transaxle and rotate the transaxle to a vertical position.
    Fig 4: Identifying Drain Pan
    G04661240Courtesy of FORD MOTOR CO.
  6. Remove the filler tube.
    Fig 5: Locating Filler Tube Bracket
    G04661241Courtesy of FORD MOTOR CO.
  7. CAUTION: The overdrive band servo spring cover is under spring tension. Care must be taken when removing as components can be ejected from the case.
  8. Remove the overdrive servo piston and rod.
    • Remove the bolts.
    • Remove the cover.
    • Remove the piston and rod.
      Fig 6: Locating Overdrive Servo Piston And Rod
      G04661242Courtesy of FORD MOTOR CO.
  9. Remove the output shaft speed (OSS) sensor cover.
    Fig 7: Locating Output Shaft Speed (OSS) Sensor Cover
    G04661243Courtesy of FORD MOTOR CO.
  10. Remove the OSS sensor.
    • Unclip the harness.
    • Remove the OSS sensor.
      Fig 8: Locating OSS Sensor
      G04661244Courtesy of FORD MOTOR CO.
  11. Remove the digital TR sensor.
    1. Remove the 2 bolts.
    2. Remove the digital TR sensor.
      Fig 9: Locating Digital TR Sensor And Bolts
      G04661245Courtesy of FORD MOTOR CO.
  12. Remove the TSS sensor.
    1. Remove the TSS sensor bolt.
    2. Remove the TSS sensor.
      Fig 10: Locating TSS Sensor And Bolt
      G04661246Courtesy of FORD MOTOR CO.
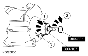
  13. NOTE: The differential seal is a 2-piece constructed seal.
    Fig 11: Identifying Special Tools (303-107, 303-335) To Remove LH Differential Seal
    G04661247Courtesy of FORD MOTOR CO.
  14. Using the special tools, remove the LH differential seal.
  15. Using the special tools, remove the LH differential seal metal protector.
    1. Rotate the front crankshaft oil seal remover.
    2. Rotate the forcing screw while holding the front crankshaft oil seal remover.
    3. Remove the metal protector from the LH differential seal and remove the protector from the tool.
      Fig 12: Identifying Special Tools (303-107, 303-335) To Remove LH Differential Seal Metal Protector
      G04661248Courtesy of FORD MOTOR CO.
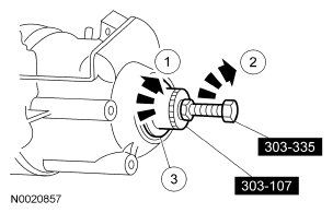
  16. Using the special tools, remove the rubber portion of the LH differential seal.
    1. Install the special tool into the LH differential seal.
    2. Rotate the forcing screw while holding the front crankshaft oil seal remover.
    3. Remove the rubber portion of the seal.
      Fig 13: Identifying Special Tools (303-107, 303-335) To Remove Rubber Portion Of LH Differential Seal
      G04661249Courtesy of FORD MOTOR CO.
  17. Install the special tool into the RH differential seal.
    Fig 14: Identifying Special Tools (205-D014, 303-107, 303-335) To Remove RH Differential Seal
    G04661250Courtesy of FORD MOTOR CO.
  18. Using the special tools, remove the RH differential seal metal protector.
    1. Rotate the front crankshaft oil seal remover.
    2. Rotate the forcing screw while holding the front crankshaft oil seal remover.
    3. Remove the metal protector of the seal.
      Fig 15: Identifying Special Tools (303-107, 303-335) To Remove RH Differential Seal Metal Protector
      G04661251Courtesy of FORD MOTOR CO.
  19. Using the special tool, remove the rubber portion of the seal.
    1. Rotate the front crankshaft oil seal remover.
    2. Rotate the forcing screw while holding the front crankshaft oil seal remover.
    3. Remove the rubber portion of the seal.
      Fig 16: Identifying Special Tools (303-107, 303-335) To Remove Rubber Portion Seal
      G04661252Courtesy of FORD MOTOR CO.
  20. CAUTION: Using the special tool, remove the converter hub seal. Stator support surface will be damaged if any other type tool is used. Stator support surface damage will cause a P0741 code to be set after repairs.
    Fig 17: Identifying Special Tools (100-001, 307-309) To Remove Converter Hub Seal
    G04661253Courtesy of FORD MOTOR CO.
  21. Using the special tools, remove the converter hub seal.
  22. Remove the bolts.
    Fig 18: Locating Converter Bolts And Special Tool (307-003)
    G04661254Courtesy of FORD MOTOR CO.
  23. Rotate the transaxle to a horizontal position.
  24. Remove the mount bracket.
    Fig 19: Locating Mount Bracket
    G04661255Courtesy of FORD MOTOR CO.
  25. NOTE: The main control cover gasket is reusable if not torn or damaged.
    Fig 20: Locating Transaxle Pan Bolts
    G04661256Courtesy of FORD MOTOR CO.
  26. Remove the 15 transaxle side pan bolts and remove the transaxle side pan and gasket.
  27. CAUTION: Do not pull on the wires or pry the connectors. Damage to the connector will result.
    Fig 21: Locating Electrical Connectors
    G04661257Courtesy of FORD MOTOR CO.
  28. Lift the locking tab and disconnect the electrical connectors.
  29. NOTE: The manual valve should be inserted completely.
    Fig 22: Rotating Manual Control Lever
    G04661258Courtesy of FORD MOTOR CO.
  30. Using a 9-mm wrench, rotate the manual control lever to the low detent.
  31. CAUTION: Do not remove the 2 bolts that hold the pump assembly and main control valve body together as the pump assembly may fall from the main control valve body.
    CAUTION: Only 4 of the 6 pump cover bolts must be removed.
    Fig 23: Identifying Pump Assembly Bolts Location
    G04661259Courtesy of FORD MOTOR CO.
  32. Remove the bolts.
  33. Remove the main control valve body.
    • Remove the pump assembly and main control valve body.
    • Rotate the main control valve body while lifting off.
      Fig 24: Removing Main Control Valve Body
      G04661260Courtesy of FORD MOTOR CO.
  34. Disconnect the manual control valve actuating rod.
    Fig 25: Locating Manual Control Valve Actuating Rod
    G04661261Courtesy of FORD MOTOR CO.
  35. Remove the pump shaft.
    Fig 26: Locating Pump Shaft
    G04661262Courtesy of FORD MOTOR CO.
  36. NOTE: The transaxle pan gasket is reusable if not torn or damaged.
    Fig 27: Locating Transmission Fluid Pan Gasket
    G04661263Courtesy of FORD MOTOR CO.
  37. Remove the bolts, transmission fluid pan and gasket.
  38. Remove, clean and inspect the magnet.
    Fig 28: Locating Transmission Fluid Pan Magnet
    G04661264Courtesy of FORD MOTOR CO.
  39. Remove the filter.
    Fig 29: Locating Filter
    G04661265Courtesy of FORD MOTOR CO.
  40. NOTE: Use a 3/8-inch extension so as not to damage the case while removing the fluid filter seal.
    Fig 30: Locating Fluid Filter Seal
    G04661266Courtesy of FORD MOTOR CO.
  41. Remove the fluid filter seal.
  42. Loosen the nut and remove the reverse clutch anchor pin.
    Fig 31: Locating Reverse Clutch Anchor Pin Nut
    G04661267Courtesy of FORD MOTOR CO.
  43. CAUTION: The chain cover is under spring pressure. Care must be taken to prevent internal parts from being ejected.
    NOTE: Mark bolt size and location for assembly.
    Fig 32: Locating Chain Cover Bolts
    G04661268Courtesy of FORD MOTOR CO.
  44. Remove the bolts.
  45. NOTE: Plastic thrust washers No. 1 and No. 3 may stick to the cover or to the sprockets.
    Fig 33: Removing Chain Cover
    G04661269Courtesy of FORD MOTOR CO.
  46. Remove the chain cover and gasket.
  47. Remove the shift accumulator springs.
    1. Remove the 1-2 shift accumulator piston spring.
    2. Remove the 2-3 shift accumulator piston spring.
    3. Remove the reverse shift accumulator piston spring.
    4. Remove the 3-4 shift accumulator piston spring.
      Fig 34: Identifying Shift Accumulator Springs
      G04661270Courtesy of FORD MOTOR CO.
  48. CAUTION: Be careful not to damage or bend the tabs on the exciter ring or the TSS sensor will not operate.
    Fig 35: Removing Drive Chain Assembly
    G04661271Courtesy of FORD MOTOR CO.
  49. Remove the drive sprocket, driven sprocket and drive chain as an assembly.
  50. NOTE: The thrust washers may remain on the sprockets.
  51. Remove the thrust washers.
    1. Remove the No. 2 thrust washer.
    2. Remove the No. 4 thrust washer.
      Fig 36: Identifying No. 2 Thrust Washer And No. 4 Thrust Washer
      G04661272Courtesy of FORD MOTOR CO.
  52. CAUTION: Use care not to damage the machined surface of the case.
    NOTE: The position of the manual valve detent lever is different than past models. The roll pin and shoulder point toward the driven sprocket support. Note the position of the lever during disassembly for correct assembly.
    Fig 37: Locating Roll Pins
    G04661273Courtesy of FORD MOTOR CO.
  53. Remove the roll pins.
  54. NOTE: The position of the manual valve detent lever is different than past models. The roll pin and shoulder point toward the driven sprocket support. Note the position of the lever during disassembly for correct assembly.
    Fig 38: Locating Manual Control Lever Shaft
    G04661274Courtesy of FORD MOTOR CO.
  55. Remove the manual control lever shaft.
  56. Remove the parking lever actuating rod.
    Fig 39: Removing Parking Lever Actuating Rod
    G04661275Courtesy of FORD MOTOR CO.
  57. Remove the manual control lever shaft seal.
    Fig 40: Locating Manual Control Lever Shaft Seal
    G04661276Courtesy of FORD MOTOR CO.
  58. NOTE: During the complete disassembly of the transaxle, the fluid transfer tubes must be removed.
    Fig 41: Locating Bolts And Brackets
    G04661277Courtesy of FORD MOTOR CO.
  59. Remove the bolts and brackets.
  60. Using the special tools, remove the fluid lube tubes.
    Fig 42: Using Special Tools (307-005, 307-310) To Remove Fluid Lube Tubes
    G04661278Courtesy of FORD MOTOR CO.
  61. Remove the bolts and the park pawl abutment.
    Fig 43: Locating Park Pawl Abutment Bolts
    G04661279Courtesy of FORD MOTOR CO.
  62. Remove the neutral/drive accumulator bolt.
    Fig 44: Locating Neutral/Drive Accumulator Bolt
    G04661280Courtesy of FORD MOTOR CO.
  63. Remove the neutral/drive accumulator.
    1. Remove the cover.
    2. Remove the springs.
    3. Remove the piston and shaft.
      Fig 45: Identifying Cover, Springs, Piston And Shaft
      G04661281Courtesy of FORD MOTOR CO.
  64. Using the special tool, remove the coast band servo.
    1. Install the special tool.
    2. Remove the snap ring.
    3. Remove the cover, piston and rod as an assembly.
      Fig 46: Using Special Tool 307-251 To Remove Coast Band Servo
      G04661282Courtesy of FORD MOTOR CO.
  65. NOTE: The No. 5 thrust washer may stick to the drive sprocket support.
    Fig 47: Removing Drive Sprocket Support
    G04661283Courtesy of FORD MOTOR CO.
  66. Remove the drive sprocket support and the No. 5 thrust washer.
  67. NOTE: The No. 8 thrust washer and the No. 9 thrust bearing may remain on the drive sprocket support and driven sprocket.
    Fig 48: Using Special Tool 100-010 To Remove Rear Thrust Washer And No. 9 Needle Bearing
    G04661284Courtesy of FORD MOTOR CO.
  68. Using the special tool, remove the No. 8 driven sprocket support selective fit rear thrust washer and the No. 9 needle bearing.
  69. Remove the plastic overdrive band retainer.
    Fig 49: Removing Plastic Overdrive Band Retainer
    G04661285Courtesy of FORD MOTOR CO.
  70. Remove the overdrive band.
    Fig 50: Identifying Overdrive Band
    G04661286Courtesy of FORD MOTOR CO.
  71. NOTE: Do not overtighten the handle of the tool. Place two 3/8-inch washers between the handle and the notched block.
    Fig 51: Identifying Special Tool (307-171) Into Case
    G04661287Courtesy of FORD MOTOR CO.
  72. Position the special tool into the case and install the hook end of tool into one of the lube holes in the front sun shell. Position the block over the edge of the assembly and tighten the handle.
  73. Using the special tool, remove the front clutch assembly.
    Fig 52: Identifying Special Tool (307-171) On Front Clutch Assembly
    G04661288Courtesy of FORD MOTOR CO.
  74. Using the special tools, remove the reverse clutch and planet assembly.
    Fig 53: Identifying Special Tools (307-171, 307-316) Into Reverse Clutch And Planet Assembly
    G04661289Courtesy of FORD MOTOR CO.
  75. Remove the low/intermediate drum, sun gear and one-way clutch assembly.
    Fig 54: Removing Low/Intermediate Drum, Sun Gear And One-Way Clutch Assembly
    G04661290Courtesy of FORD MOTOR CO.
  76. Remove the coast band.
    Fig 55: Locating Coast Band
    G04661291Courtesy of FORD MOTOR CO.
  77. CAUTION: Use care not to damage any machined surfaces.
    Fig 56: Locating Low/Intermediate Clutch Retaining Ring
    G04661292Courtesy of FORD MOTOR CO.
  78. Remove the low/intermediate clutch retaining ring.
  79. Remove the low/intermediate clutch pack.
    1. Remove the low/intermediate clutch pressure plate.
    2. Remove the low/intermediate clutch plates.
    3. Remove the low/intermediate clutch cushion spring.
      Fig 57: Locating Low/Intermediate Clutch Pack
      G04661293Courtesy of FORD MOTOR CO.
  80. WARNING: Use caution when unloading the beveled retaining ring. Personal injury could occur.
    CAUTION: Use care not to damage final drive support assembly, transaxle case or retaining ring during removal.
    Fig 58: Identifying Special Tool (307-341)
    G04661294Courtesy of FORD MOTOR CO.
  81. Using the special tool, remove the beveled retaining ring and record the shape of the ring end.
  82. Remove the final drive differential and rear planet support assembly.
    Fig 59: Locating Final Drive Differential
    G04661295Courtesy of FORD MOTOR CO.
  83. NOTE: The differential carrier thrust washer may remain on the differential assembly.
  84. Remove the differential carrier thrust washer.
    1. Remove the No. 18 differential carrier thrust washer.
    2. Remove the No. 19 differential carrier thrust bearing and race.
      Fig 60: Identifying No. 18 Differential Carrier Thrust Washer, No. 19 Carrier Thrust Bearing And Race
      G04661296Courtesy of FORD MOTOR CO.
  85. Remove the rear planet support spacer.
    Fig 61: Locating Rear Planet Support Spacer
    G04661297Courtesy of FORD MOTOR CO.
  86. Remove the final drive ring gear.
    Fig 62: Locating Final Drive Ring Gear
    G04661298Courtesy of FORD MOTOR CO.
  87. Inspect the bearing in the stator support for damage. If damage is indicated, install a new stator support.
    Fig 63: Locating Stator Support
    G04661299Courtesy of FORD MOTOR CO.
  88. Remove the bolts.
    Fig 64: Locating Torque Converter Bolts
    G04661300Courtesy of FORD MOTOR CO.
  89. Remove the stator support assembly.
    Fig 65: Removing Stator Support Assembly
    G04661301Courtesy of FORD MOTOR CO.
  90. NOTE: The following procedures are done only if a case replacement is necessary.
    Fig 66: Locating Park Pawl Shaft Retaining Pin
    G04661302Courtesy of FORD MOTOR CO.
  91. Remove the park pawl shaft retaining pin.
  92. Using the special tools, remove the cup plug.
    Fig 67: Identifying Special Tools (100-001, 303-D011, 303-D016) Into Cup Plug
    G04661303Courtesy of FORD MOTOR CO.
  93. Remove the parking pawl.
    1. Use a magnet to remove the parking pawl shaft.
    2. Remove the parking pawl and return spring.
      Fig 68: Identifying Parking Pawl Shaft And Return Spring
      G04661304Courtesy of FORD MOTOR CO.