LEMON Manuals: Even more car manuals for everyone: 1960-2025
Home >> Ford >> 2007 >> Expedition RWD >> Repair and Diagnosis >> Transmission >> Automatic Trans >> Automatic Transmission >> Disassembly And Assembly Of Subassemblies >> Direct Clutch Assembly >> Disassembly
April 5, 2026: LEMON Manuals is launched! Read the announcement.

Direct Clutch Assembly: Disassembly

  1. Remove and discard the 2 scarf cut seals and the roller bearing.
  2. Fig 1: Locating Scarf Cut Seals And Roller Bearing
    GF0022777Courtesy of FORD MOTOR CO.
  3. Remove the thrust bearing (T5).
  4. Fig 2: Locating Thrust Bearing (T5)
    GF0022778Courtesy of FORD MOTOR CO.
  5. Remove the direct clutch snap ring.
  6. Fig 3: Locating Direct Clutch Snap Ring
    GF0022779Courtesy of FORD MOTOR CO.
  7. Remove the direct clutch steel and friction plates.
  8. Fig 4: Locating Direct Clutch Steel And Friction Plates
    GF0022780Courtesy of FORD MOTOR CO.
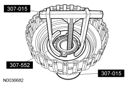
  9. Install the special tools onto the direct clutch assembly.
  10. Fig 5: Identifying Special Tools & Direct Clutch Assembly
    GF0022636Courtesy of FORD MOTOR CO.
  11. Using the special tool, remove the direct clutch return spring retainer.
  12. Fig 6: Identifying Special Tool & Direct Clutch Return Spring Retainer
    GF0022637Courtesy of FORD MOTOR CO.
  13. Remove the special tool.
  14. Fig 7: Identifying Special Tool
    GF0022638Courtesy of FORD MOTOR CO.
  15. Remove the direct clutch return spring washer.
  16. Fig 8: Locating Direct Clutch Return Spring Washer
    GF0022639Courtesy of FORD MOTOR CO.
  17. Remove the direct clutch return spring.
  18. Fig 9: Identifying Direct Clutch Return Spring
    GF0022640Courtesy of FORD MOTOR CO.
  19. Slightly press down on the balance piston and remove and discard the snap ring.
  20. Fig 10: Locating Snap Ring
    GF0022641Courtesy of FORD MOTOR CO.
  21. Remove the baffle plate from the direct clutch piston.
  22. Fig 11: Locating Baffle Plate
    GF0022642Courtesy of FORD MOTOR CO.
  23. Remove the direct clutch piston.
  24. Fig 12: Locating Direct Clutch Piston
    GF0022643Courtesy of FORD MOTOR CO.
  25. Remove and discard the outer O-ring seal from the balance piston.
  26. Fig 13: Locating Outer O-Ring Seal
    GF0022644Courtesy of FORD MOTOR CO.
  27. Remove and discard the outer and inner O-ring seal from the apply piston.
  28. Fig 14: Locating Inner And Outer O-Ring Seal
    GF0022645Courtesy of FORD MOTOR CO.
  29. Inspect the direct clutch drum for damage. If damage is indicated, install a new direct clutch drum.