LEMON Manuals: Even more car manuals for everyone: 1960-2025
Home >> Ford >> 2008 >> Mustang V8-4.6L >> Repair and Diagnosis >> Specifications >> Mechanical Specifications >> Engine >> Cylinder Block Assembly >> Connecting Rod, Engine
April 5, 2026: LEMON Manuals is launched! Read the announcement.

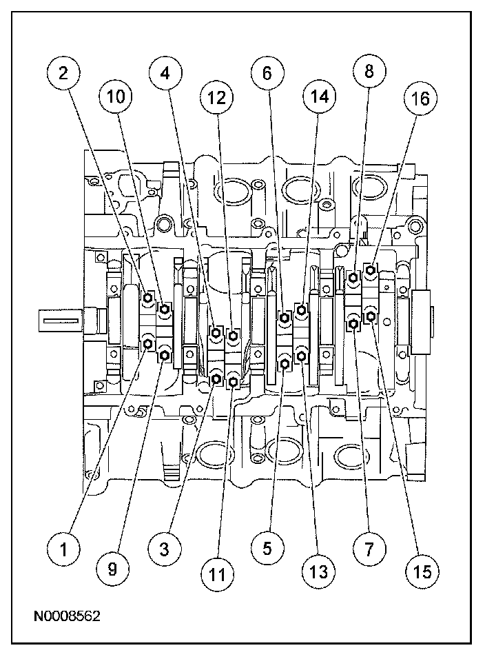
Connecting Rod, Engine

Connecting Rod
Pin bore diameter 22.012-22.024 mm (0.8666-0.8671 in)
Length (center-to-center) 150.7 mm (5.933 in)
Maximum allowed bend ± 0.038 mm (0.0015 in)
Maximum allowed twist(a) ± 0.05 mm (0.0020 in)
Bearing bore diameter (with assembled liners) 53.049-53.027 mm (2.0885-2.0877 in)
Bearing-to-crankshaft clearance 0.024-0.066 mm (0.0009-0.0026 in)
Side clearance 0.5-0.15 mm (0.02-0.006 in)
(a) The pin bore and crank bearing bore must be parallel and in the same vertical plane within the specified total difference when measured at the ends of a 203 mm bar, 105.5 mm on each side of rod centerline.

Connecting Rod Cap Bolts
Discard the bolts.





First pass 43 Nm (32 lb-ft).
Final pass Tighten an additional 105°