LEMON Manuals: Even more car manuals for everyone: 1960-2025
Home >> Ford >> 2011 >> Crown Victoria V8-4.6L >> Repair and Diagnosis >> Maintenance >> Alignment >> Service and Repair >> Ride Height Measurement
April 5, 2026: LEMON Manuals is launched! Read the announcement.

Ride Height Measurement




Ride Height Measurement


Front Ride Height Measurement










WARNING: Before servicing a vehicle equipped with a fire suppression system, depower the system by following the procedure in Fire Suppression System. Failure to follow the instructions may result in serious personal injury Procedures.

NOTE: Make sure that the vehicle is positioned on a flat, level surface and the tires are inflated to the correct pressure. Vehicle should have a full tank of fuel.

1. Position a suitable surface gauge (such as Starrett 57D Surface Gauge) on a flat, level surface and adjust the gauge arm until the scriber point is located in the center of the lower arm forward mounting bolt.
- Lock the surface gauge in this position.





2. With the surface gauge positioned on a flat, level surface, record the measurement of the surface gauge position (measurement 1).





3. Position the surface gauge on the same flat, level surface as used in Step 1 and adjust the gauge arm until the scriber point is located in the center of the shock absorber mounting bolt.
- Lock the surface gauge in this position.





4. With the surface gauge positioned on a flat, level surface, record the measurement of the surface gauge position (measurement 2).





5. Subtract measurement 2 from measurement 1 to obtain the front ride height.
- Refer to Specifications.

6. WARNING: If the vehicle is equipped with a fire suppression system, repower the system. For important safety warnings and procedures, refer to Fire Suppression System. Failure to follow these instructions may result in serious personal injury Description and Operation.

If equipped with a fire suppression system, repower the system.


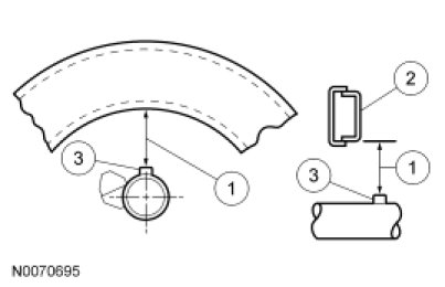
Rear Ride Height Measurement










WARNING: Before servicing a vehicle equipped with a fire suppression system, depower the system by following the procedure in Fire Suppression System. Failure to follow the instructions may result in serious personal injury Procedures.

NOTE: Make sure that the vehicle is positioned on a flat, level surface and the tires are inflated to the correct pressure. Vehicle should have a full tank of fuel.

1. Measure the distance between the inner frame reinforcement (Item 2) and the rear axle jounce stop (Item 3) to obtain the rear ride height (Item 1).

2. WARNING: If the vehicle is equipped with a fire suppression system, repower the system. For important safety warnings and procedures, refer to Fire Suppression System. Failure to follow these instructions may result in serious personal injury Description and Operation.

If equipped with a fire suppression system, repower the system.