LEMON Manuals: Even more car manuals for everyone: 1960-2025
Home >> Ford >> 2011 >> E 150 V8-5.4L >> Repair and Diagnosis >> Powertrain Management >> Computers and Control Systems >> Transmission Position Sensor/Switch >> Adjustments
April 5, 2026: LEMON Manuals is launched! Read the announcement.

Transmission Position Sensor/Switch: Adjustments




Transmission Range (TR) Sensor Adjustment





NOTICE: Do not pry on the swivel tube to disconnect the transmission shift linkage.

NOTE: Manual control lever must be in the NEUTRAL position.

1. With the vehicle in NEUTRAL, position it on a hoist. For additional information, refer to Jacking and Lifting Service and Repair.

2. Disconnect the selector lever cable from the manual control lever.





3. Disconnect the Transmission Range (TR) sensor electrical connector.





4. Remove the manual control lever.

1. Remove the manual control lever nut.

2. Remove the manual control lever.





5. Loosen, but do not remove, the TR sensor bolts.





6. NOTE: The manual control lever must be in the NEUTRAL position.

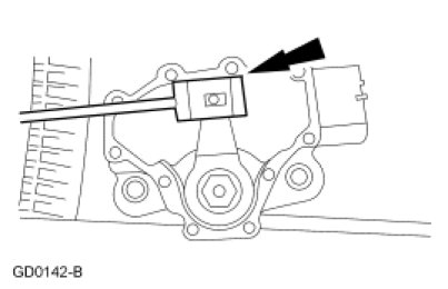
Using the TR Sensor Alignment Gauge, align the TR sensor slots. The TR Sensor Alignment Gauge is designed to fit snug.





7. NOTICE: Tightening one bolt before tightening the other may cause the Transmission Range (TR) sensor to bind or become damaged.

Using the TR Sensor Alignment Gauge, align the TR sensor and tighten the bolts in an alternating sequence.

- Tighten to 9 Nm (80 lb-in).





8. Install the manual control lever.

1. Position the manual control lever.

2. Install a new manual control lever shaft outer nut.
- Tighten to 33 Nm (24 lb-ft).





9. Install the TR sensor electrical connector.





10. With the manual control lever in NEUTRAL, connect the selector lever cable.