LEMON Manuals: Even more car manuals for everyone: 1960-2025
Home >> Ford >> 2011 >> Escape 2WD V6-3.0L >> Repair and Diagnosis >> Specifications >> Mechanical Specifications >> Engine >> Timing Cover
April 5, 2026: LEMON Manuals is launched! Read the announcement.

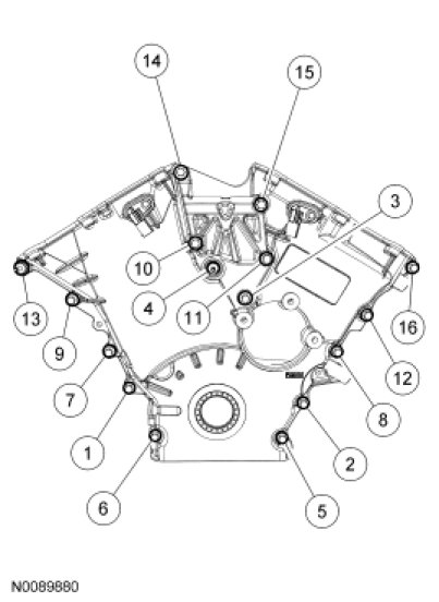
Timing Cover




Position the engine front cover and install the bolts.
Tighten in the sequence shown to 25 Nm (18 lb-ft).