LEMON Manuals: Even more car manuals for everyone: 1960-2025
Home >> Ford >> 2011 >> Flex SE >> Repair and Diagnosis (Single Page) >> Transmission >> Automatic Trans >> Automatic Transaxle/Transmission - 6F50-6F55 - General Procedures, In-Vehicle Repair, Removal, Disassembly And Assembly Of Subassemblies, Assembly, Installation >> In-Vehicle Repair >> Digital Transmission Range (TR) Sensor >> Removal
April 5, 2026: LEMON Manuals is launched! Read the announcement.

Digital Transmission Range (TR) Sensor: Removal

  1. Remove the main control cover.
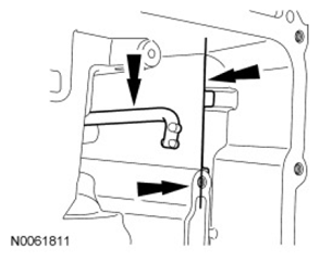
  2. Disconnect the selector lever cable end from the manual control lever.
    Fig 1: Locating Selector Lever Cable End
    G07467472Courtesy of FORD MOTOR CO.
  3. Remove the nut and the manual control lever.
    Fig 2: Remove/Install Manual Control Lever And Nut
    G07467473Courtesy of FORD MOTOR CO.
  4. Disconnect the Transmission Range (TR) sensor electrical connector.
    1. Slide the lock over.
    2. Press the tab and disconnect the connector.
      Fig 3: Locating Transmission Range Sensor Electrical Connector
      G07467474Courtesy of FORD MOTOR CO.
  5. Disconnect the Turbine Shaft Speed (TSS) and Output Shaft Speed (OSS) sensor electrical connectors.
    Fig 4: Locating Turbine Shaft Speed And Output Shaft Speed Sensor Connectors
    G07467475Courtesy of FORD MOTOR CO.
  6. NOTE: Note the location of the different length bolts for assembly.
    Fig 5: Locating Solenoid Body Bolts
    G07467476Courtesy of FORD MOTOR CO.
  7. Remove the 11 bolts and the solenoid body.
  8. NOTE: Do not handle the solenoid body in the leadframe area or by the screens of the solenoid body filter or damage to the solenoid body may occur.
    NOTE: Use care not to break the alignment tabs when removing the solenoid body filter.
    Fig 6: Locating Solenoid Body Filter Assembly
    G07467477Courtesy of FORD MOTOR CO.
  9. Remove the solenoid body filter assembly by pulling it straight up from the alignment tabs. Discard the filter.
  10. Remove the 10 bolts, the TR  sensor detent spring and the main control valve body.
    Fig 7: Locating TR Sensor Detent Spring And Main Control Valve Body Bolts
    G07467478Courtesy of FORD MOTOR CO.
  11. Using a suitable tool, remove and discard the TR  sensor locking pin.
    Fig 8: Locating TR Sensor Locking Pin
    G07467479Courtesy of FORD MOTOR CO.
  12. NOTE: TR  sensor removed for clarity.
    Fig 9: Locating Park Pawl Actuator Rod
    G07467480Courtesy of FORD MOTOR CO.
  13. Make sure that the park pawl actuator rod does not become disengaged from the park pawl and the abutment by keeping the end of the park pawl actuator rod behind the machined valve body mating surface of the transaxle case. If the park pawl actuator rod becomes disengaged from the park pawl and the abutment, transaxle removal and disassembly is required to reinstall the actuator rod.
  14. NOTE: Make sure that the park pawl actuator rod does not become disengaged from the park pawl and the abutment, or transaxle removal and disassembly is required to reinstall the actuator rod.
  15. Remove the TR  sensor.
    1. Slide the TR  sensor down until the manual shaft is out of the transaxle case.
    2. Rotate the TR  sensor detent plate counterclockwise, as viewed from below, until the plate rests against the transaxle case, remove the park pawl actuating rod from the TR  sensor and remove the TR  sensor.
      Fig 10: Rotating TR Sensor Detent Plate
      G07467481Courtesy of FORD MOTOR CO.