LEMON Manuals: Even more car manuals for everyone: 1960-2025
Home >> Ford >> 2011 >> Taurus SHO >> Repair and Diagnosis (Single Page) >> Engine Performance >> System >> Engine Controls - Pinpoint Test A: No Start Through Pinpoint Test DK: Accelerator Pedal Position (App) Sensor - (Except Diesel & Hybrid) >> PINPOINT TEST B: Powertrain Control Module (PCM) Power Relay >> Introduction
April 5, 2026: LEMON Manuals is launched! Read the announcement.

PINPOINT TEST B: Powertrain Control Module (PCM) Power Relay: Introduction

NOTE: The IGN START/RUN and ground circuits, or the B+ and VPWR circuits may be reversed in the harness connector. Refer to the appropriate Wiring Diagrams Manual Electronic Engine Control Cell for schematic and connector information.

This pinpoint test is intended to diagnose the following:

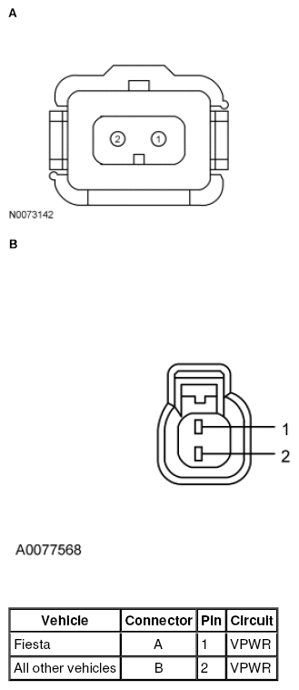
Fig 2: Identifying Powertrain Control Module Power (PCM Power) Relay Connector
G07452845Courtesy of FORD MOTOR CO.

Powertrain Control Module (PCM) Connector 

For PCM connector views or reference values, refer to REFERENCE VALUES .

POWERTRAIN CONTROL MODULE CONNECTOR PINS REFERENCE CHART

Vehicle Connector Pin Circuit
Crown Victoria, Grand Marquis, Ranger, Town Car 170 PIN B35, B36 VPWR
E-Series 6.8L 170 PIN E23
B35, B36
B31
B37
INJPWRM
VPWR
ISP-R
PCMRC
Edge, MKX 190-PIN B33
B67, B68
B42
B38
INJPWRM
VPWR
ISP-R
PCMRC
Explorer 190-PIN B67, B68
B48
B38
VPWR
ISP-R
PCMRC
F-150 6.2L, F-150 5.0L, F-150 3.7L 190-PIN B67, B68
B42
B38
VPWR
ISP-R
PCMRC
F-150 3.5L 198 PIN B101, B102, B103
B48
B58
VPWR
ISP-R
PCMRC
Fiesta 128 PIN B11, B12, B8
B8
B1
VPWR
ISP-R
PCMRC
Flex 4V 3.5L, MKS 3.7L, MKT 3.7L, Taurus 4V 3.5L 190-PIN B33
B51, B52, B53
B7
B8
INJPWRM
VPWR
ISP-R
PCMRC
Flex GTDI 3.5L, MKS 3.5L, MKT 3.5L, Taurus GTDI 3.5L 190-PIN B21
B35, B36, B51
B42
B38
INJPWRM
VPWR
ISP-R
PCMRC
Fusion 3.5L, MKZ 140 PIN B45
B51, B52
B37
B35
INJPWRM
VPWR
ISP-R
PCMRC
All other vehicles 190-PIN B21
B67, B68
B42
B38
INJPWRM
VPWR
ISP-R
PCMRC