LEMON Manuals: Even more car manuals for everyone: 1960-2025
Home >> Ford >> 2011 >> Transit Connect L4-2.0L >> Repair and Diagnosis >> Windows and Glass >> Windows >> Power Window Switch >> Testing and Inspection
April 5, 2026: LEMON Manuals is launched! Read the announcement.

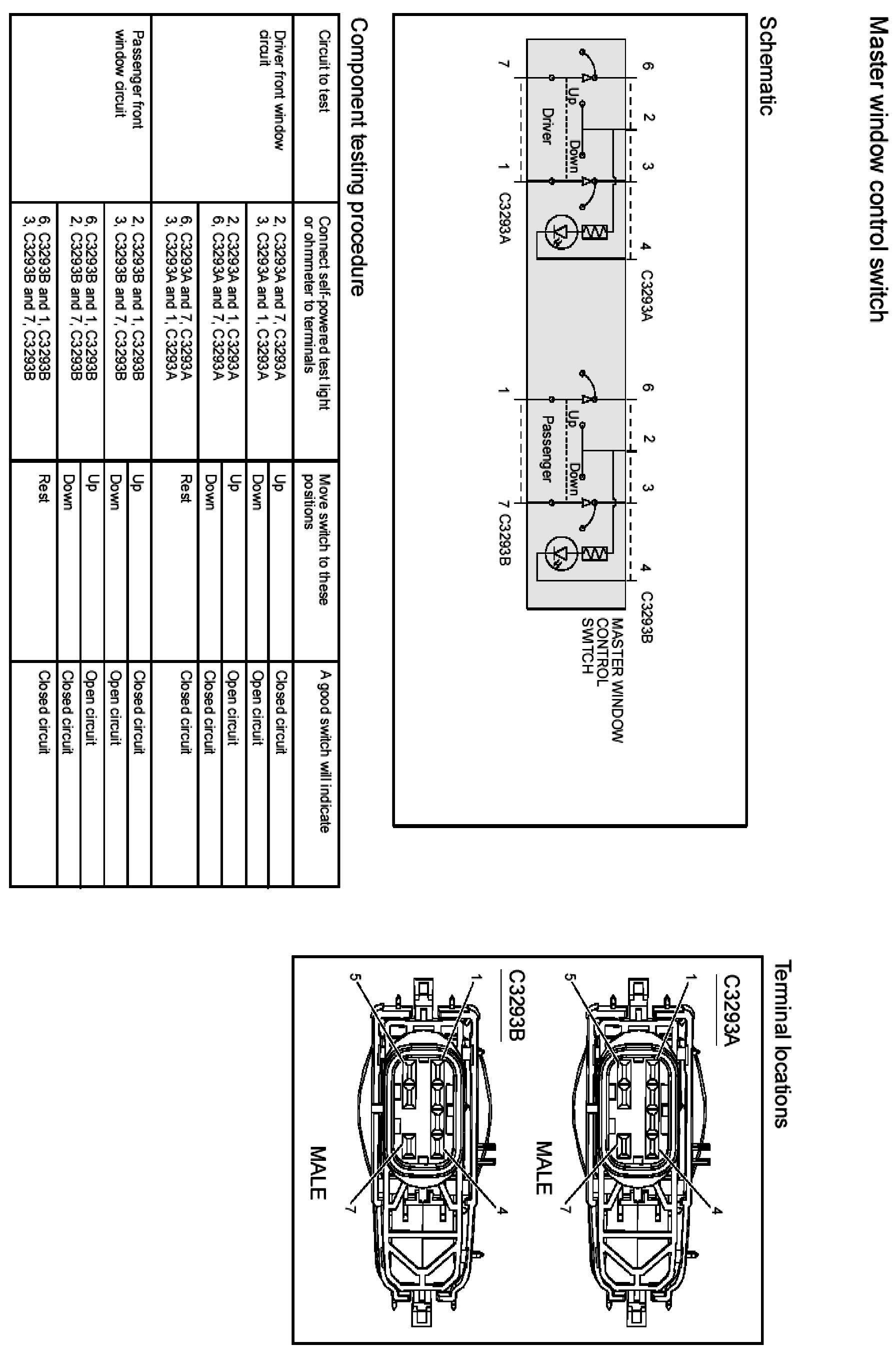
Power Window Switch: Testing and Inspection