LEMON Manuals: Even more car manuals for everyone: 1960-2025
Home >> Ford >> 2012 >> F 150 2WD V8-6.2L >> Repair and Diagnosis >> Maintenance >> Alignment >> Specifications >> Ride Height Measurement
April 5, 2026: LEMON Manuals is launched! Read the announcement.

Ride Height Measurement




Ride Height Measurement

Front Ride Height Measurement










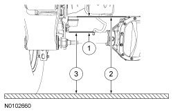
Rear Ride Height Measurement (All Except SVT Raptor)










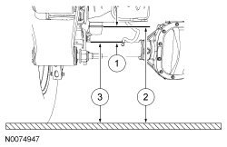
Rear Ride Height Measurement (SVT Raptor)