LEMON Manuals: Even more car manuals for everyone: 1960-2025
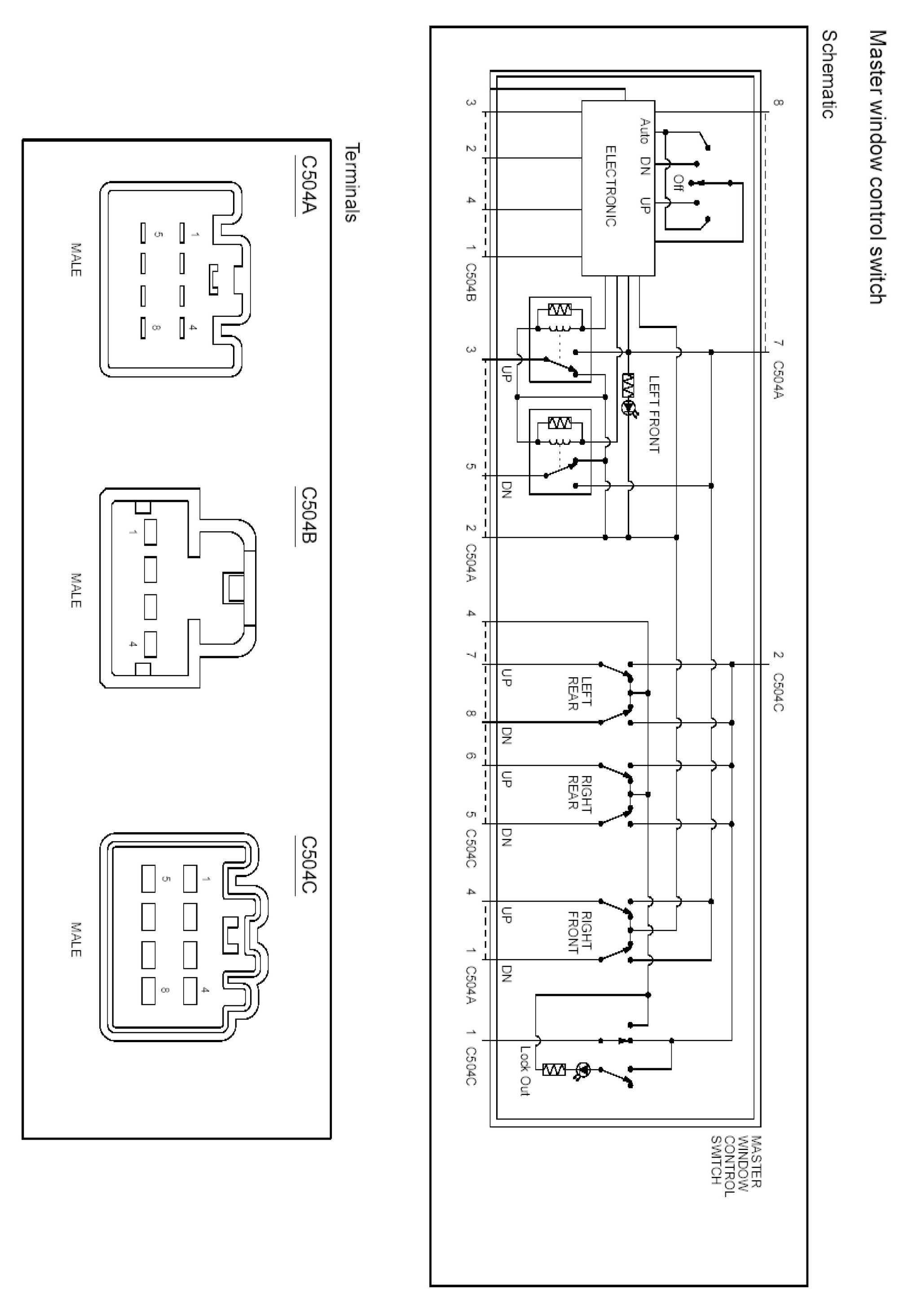
Home >> Ford >> 2012 >> Fiesta L4-1.6L >> Repair and Diagnosis >> Windows and Glass >> Windows >> Power Window Switch >> Testing and Inspection >> Master Window Control Switch
April 5, 2026: LEMON Manuals is launched! Read the announcement.

Master Window Control Switch