PINPOINT TEST H: Fuel Control: Introduction
WARNING: This page is about a different variant/trim than selected.
WARNING:
WHILE CONDUCTING TESTS ON A HOT ENGINE TAKE ALL SAFETY PRECAUTIONS TO PREVENT SKIN CONTACT WITH HOT ENGINE COMPONENTS. FAILURE TO FOLLOW THESE INSTRUCTIONS MAY RESULT IN PERSONAL INJURY.
This pinpoint test is intended to diagnose the following:
- HO2S/O2S (9F472)
- HO2S/O2S (9G444)
- fuel injector(s) (9F593)
- harness circuits: HO2S, HO2S Heater, VPWR, and SIGRTN
- vacuum systems
- powertrain control module (PCM) (12A650)
For additional information on heated oxygen sensor (HO2S), refer to CATALYST AND EXHAUST SYSTEMS .
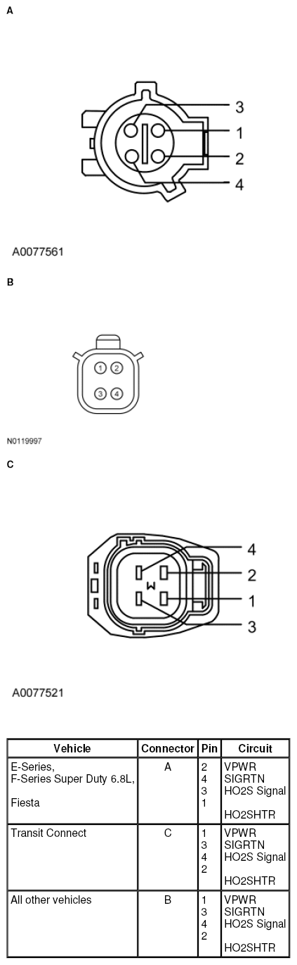
Heated Oxygen Sensor-Front (HO2S-Front) Connector
The pin numbering for the connector is in reference to the connector lock tab. Not all connector key combinations are shown.
Heated Oxygen Sensor-Rear (HO2S-Rear) Connector
The pin numbering for the connector is in reference to the connector lock tab. Not all connector key combinations are shown.
Powertrain Control Module (PCM) Connector
For PCM connector views or reference values, refer to REFERENCE VALUES article.
| Vehicle | Connector | Pin | Circuit |
|---|---|---|---|
| E-Series 4.6L | 190-PIN | E24 | UO2SPC21 |
| E23 | UO2SPC11 | ||
| T48 | HTR22 | ||
| T18 | HTR12 | ||
| T20 | HO2S22 | ||
| T16 | HO2S12 | ||
| B30 | VPWR | ||
| T40 | SIGRTN | ||
| E-Series 6.8L | 170 PIN | T48 | HTR22 |
| E70 | HTR21 | ||
| T47 | HTR12 | ||
| E69 | HTR11 | ||
| T25 | HO2S22 | ||
| E29 | HO2S21 | ||
| T24 | HO2S12 | ||
| E28 | HO2S11 | ||
| B35 | VPWR | ||
| B41, E58, T41 | SIGRTN | ||
| E-Series 5.4L | 190-PIN | E24 | UO2SPC21 |
| E23 | UO2SPC11 | ||
| T48 | HTR22 | ||
| T18 | HTR12 | ||
| T20 | HO2S22 | ||
| T16 | HO2S12 | ||
| B30 | VPWR | ||
| B58, T40 | SIGRTN | ||
| Edge 3.5L, Edge 3.7L, Explorer 3.5L, MKX | 190-PIN | E24 | UO2SPC21 |
| E23 | UO2SPC11 | ||
| T48 | HTR22 | ||
| T49 | HTR12 | ||
| T40 | HO2S22 | ||
| T29 | HO2S12 | ||
| B67 | VPWR | ||
| E49 | SIGRTN | ||
| Edge 2.0L | 154 PIN | E64 | UO2SPC11 |
| B20 | HTR12 | ||
| B48 | HO2S12 | ||
| B5 | VPWR | ||
| E34 | SIGRTN | ||
| Escape 3.0L | 190-PIN | E53 | UO2SPC21 |
| E37 | UO2SPC11 | ||
| T48 | HTR22 | ||
| T49 | HTR12 | ||
| T40 | HO2S22 | ||
| T29 | HO2S12 | ||
| B67 | VPWR | ||
| T41 | SIGRTN | ||
| Escape 2.5L Manual Transmission, Fusion 2.5L Manual Transmission | 190-PIN | T49 | HTR12 |
| E69 | HTR11 | ||
| T29 | HO2S12 | ||
| E8 | HO2S11 | ||
| B67 | VPWR | ||
| E49, T41 | SIGRTN | ||
| Escape 2.5L Automatic Transmission | 190-PIN | E37 | UO2SPC11 |
| T49 | HTR12 | ||
| T29 | HO2S12 | ||
| B67 | VPWR | ||
| T41 | SIGRTN | ||
| Explorer 2.0L, Focus | 154 PIN | E64 | UO2SPC11 |
| B20 | HTR12 | ||
| B48 | HO2S12 | ||
| B5 | VPWR | ||
| B21 | SIGRTN | ||
| F-150 3.7L, Mustang 3.7L | 190-PIN | E24 | UO2SPC21 |
| E23 | UO2SPC11 | ||
| T48 | HTR22 | ||
| T49 | HTR12 | ||
| T40 | HO2S22 | ||
| T29 | HO2S12 | ||
| B67 | VPWR | ||
| T41 | SIGRTN | ||
| F-150 3.5L | 198 PIN | E63 | UO2SPC21 |
| E61 | UO2SPC11 | ||
| B61 | HTR22 | ||
| B1 | HTR12 | ||
| B56 | HO2S22 | ||
| B57 | HO2S12 | ||
| B101 | VPWR | ||
| B37, B38 | SIGRTN | ||
| F-Series Super Duty 6.8L, Motorhome / Stripped Chassis / Step Van | 190-PIN | T28 | UO2SPC21 |
| T29 | UO2SPC11 | ||
| T48 | HTR12 | ||
| T30 | HO2S12 | ||
| B67 | VPWR | ||
| T26 | SIGRTN | ||
| Fiesta | 128 PIN | E35 | HTR12 |
| E47 | HTR11 | ||
| E20 | HO2S12 | ||
| E21 | HO2S11 | ||
| B11 | VPWR | ||
| E8, E9 | SIGRTN | ||
| Flex 4V 3.5L, MKS 3.7L, MKT 3.7L, Taurus 4V 3.5L | 190-PIN | E6 | UO2SPC21 |
| E4 | UO2SPC11 | ||
| E2 | HTR22 | ||
| E1 | HTR12 | ||
| E24 | HO2S22 | ||
| E23 | HO2S12 | ||
| B51 | VPWR | ||
| E58 | SIGRTN | ||
| Flex GTDI 3.5L, MKS 3.5L, MKT 3.5L, Taurus GTDI 3.5L | 190-PIN | E13 | UO2SPC21 |
| E11 | UO2SPC11 | ||
| T49 | HTR22 | ||
| T48 | HTR12 | ||
| T40 | HO2S22 | ||
| T29 | HO2S12 | ||
| B35 | VPWR | ||
| B56 | SIGRTN | ||
| Fusion 3.0L | 190-PIN | E24 | UO2SPC21 |
| E23 | UO2SPC11 | ||
| T48 | HTR22 | ||
| T49 | HTR12 | ||
| T40 | HO2S22 | ||
| T29 | HO2S12 | ||
| B67 | VPWR | ||
| E49, T41 | SIGRTN | ||
| Fusion 3.5L, MKZ | 140 PIN | E24 | HTR22 |
| E70 | HTR21 | ||
| E23 | HTR12 | ||
| E69 | HTR11 | ||
| E4 | HO2S22 | ||
| E29 | HO2S21 | ||
| E3 | HO2S12 | ||
| E28 | HO2S11 | ||
| B51 | VPWR | ||
| E58 | SIGRTN | ||
| Fusion 2.5L Automatic Transmission | 190-PIN | E23 | UO2SPC11 |
| T49 | HTR12 | ||
| T29 | HO2S12 | ||
| B67 | VPWR | ||
| T41 | SIGRTN | ||
| Transit Connect | 190-PIN | T18 | HTR12 |
| E52 | HTR11 | ||
| T16 | HO2S12 | ||
| E11 | HO2S11 | ||
| B67 | VPWR | ||
| T40 | SIGRTN | ||
| All other vehicles | 190-PIN | T28 | UO2SPC21 |
| T29 | UO2SPC11 | ||
| T49 | HTR22 | ||
| T47 | HTR12 | ||
| T27 | HO2S22 | ||
| T18 | HO2S12 | ||
| B67 | VPWR | ||
| T26 | SIGRTN |