LEMON Manuals: Even more car manuals for everyone: 1960-2025
Home >> Freightliner >> 2007 >> Sprinter 2500 V6-3.0L DSL Turbo >> Repair and Diagnosis >> Body and Frame >> Body Control Systems >> Body Control Module >> Locations
April 5, 2026: LEMON Manuals is launched! Read the announcement.

Body Control Module: Locations


Component ID: 260
Component : MODULE-BODY CONTROL

Connector:
Name : MODULE-BODY CONTROL C1
Color : BROWN
# of pins : 24




Pin Description Circuit
1 - -
2 TERM.58D U815 20GY/DB
3 - -
4 - -
5 INPUT TERM.15 218 18BK
6 TERM.15R 219 18BK/OR
7 - -
8 SWITCH-INTERIOR LAMP 1 3166 18VT/DB
8 SWITCH-INTERIOR LAMP 1 3430 18VT/DB
9 - -
10 - -
11 - -
12 SWITCH-INTERIOR LAMP 2 3168 18VT/DG
12 SWITCH-INTERIOR LAMP 2 3431 18VT/DG
13 ROTARY LIGHT SWITCH NSW/NSL 94 20GY/WT
14 - -
15 - -
16 LIGHT SWITCH TERM.31 847 18BR/BK
17 ROTARY LIGHT SWITCH AL-REDUNDANT 93 20DG/WT
18 LIGHT SWITCH BCD2 90 20DG/RD
19 - -
20 - -
21 - -
22 REVERSING LAMP 545 20BR/DG
23 LIGHT SWITCH BCD3 2552 20DG/BK
24 LIGHT SWITCH BCD1 92 20DG/YL

Component Location - 15






Connector:
Name : MODULE-BODY CONTROL C3
Color : BLACK
# of pins : 20




Pin Description Circuit
1 LEFT REAR PARK LAMP CONTROL 2334 20GY/BK
Pin Description Circuit
1 LEFT REAR PARK LAMP CONTROL 86 20GY/BK
2 LEFT STOP LAMP CONTROL 2336 20BK/RD
2 LEFT STOP LAMP CONTROL 88 20BK/RD
3 REAR FOG LAMPS CONTROL 2332 20GY/DG
3 REAR FOG LAMPS CONTROL 2333 20GY/BR
3 REAR FOG LAMPS CONTROL 84 20GY/DG
3 REAR FOG LAMPS CONTROL 85 20GY/BR
4 HIGH MOUNTED STOP LAMP CONTROL 4317 20BK/YL
4 HIGH MOUNTED STOP LAMP CONTROL 456 20BK/YL
5 REAR DOOR LOCK POSITION SENSE 453 18DB/PK
6 REAR DOOR AJAR SWITCH SENSE 454 18DB/DG
7 - -
8 - -
9 LEFT REAR VENT WINDOW DRIVER (CLOSE) 247 18RD/WT
10 LEFT REAR VENT WINDOW DRIVER (OPEN) 246 18DB/WT
11 RIGHT STOP LAMP CONTROL 2337 20RD/BK
11 RIGHT STOP LAMP CONTROL 25 20RD/BK
12 RIGHT REAR PARK LAMP CONTROL 2335 20GY/RD
12 RIGHT REAR PARK LAMP CONTROL 26 20GY/RD
13 LICENSE LAMPS CONTROL 472 20GY/OR
14 BACKUP LAMPS CONTROL U382 20WT/DB
14 BACKUP LAMPS CONTROL U38 20WT/DB
15 LEFT REAR TURN SIGNAL CONTROL U3013 20BK/WT
15 LEFT REAR TURN SIGNAL CONTROL U3011 20BK/WT
16 RIGHT REAR TURN SIGNAL CONTROL U3014 20BK/DG
16 RIGHT REAR TURN SIGNAL CONTROL U3012 20BK/DG
17 REAR WIPER 2 RIGHT 482 18BR/WT
18 REAR WIPER 1 LEFT 481 18BR/DG
19 RIGHT REAR VENT WINDOW DRIVER (OPEN) 248 18DB/YL
20 RIGHT REAR VENT WINDOW DRIVER (CLOSE) 249 18RD/YL

Component Location - 15






Connector:
Name : MODULE-BODY CONTROL C6
Color : BLACK
# of pins : 18




Pin Description Circuit
1 INTERIOR LAMP FRONT 3497 18BR/DG
Pin Description Circuit
1 INTERIOR LAMP FRONT 581 18BR/DG
2 - -
3 INPUT MOVEMENT SENSOR 3145 18DG
4 CAN B BUS (+) 72 20BR/RD
5 - -
6 - -
7 ANTI-THEFT ALARM-REAR WINDOW DETECTION 1 U43 18GY/DG
8 OUTPUT-MOVEMENT SENSOR 3780 18DB/RD
9 INTERIOR LAMP TERM.30 3333 18RD
9 INTERIOR LAMP TERM.30 U41 18RD
9 INTERIOR LAMP TERM.30 U41 18RD
9 INTERIOR LAMP TERM.30 3337 18RD
10 INTERIOR LAMP REAR U1036 18BR/DB
10 INTERIOR LAMP REAR 3435 18BR/DB
11 TERM.58D 3496 18GY/DB
11 TERM.58D 4161 18GY/DB
11 TERM.58D U8115 18GY/DB
12 - -
13 CAN B BUS (-) 73 20BR
14 - -
15 - -
16 - -
17 ANTI-THEFT ALARM-REAR WINDOW DETECTION 2 U432 18GY/OR
18 - -

Component Location - 15






Connector:
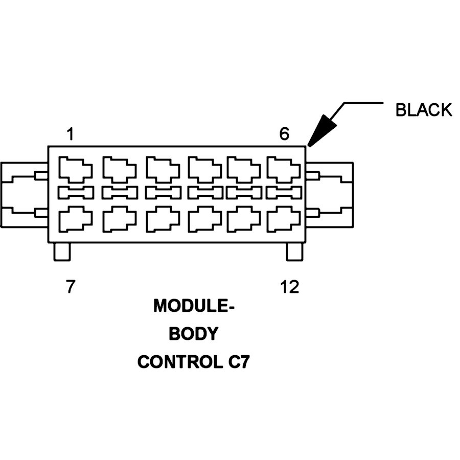
Name : MODULE-BODY CONTROL C7
Color : BLACK
# of pins : 12




Pin Description Circuit
1 FLAP-LEFT-RIGHT U337 20WT/DG
2 FRONT FOG LAMP RIGHT 69 16GY/YL
2 FRONT FOG LAMP RIGHT 2429 16GY/YL
3 HEADLAMP HIGH BEAM LEFT 3592 14WT/BK
3 HEADLAMP HIGH BEAM LEFT 66 16WT/BK
4 HEADLAMP LOW BEAM-RIGHT 3604 14YL/RD
4 HEADLAMP LOW BEAM-RIGHT 65 16YL/RD
5 GROUND 68 16GY/VT
5 FRONT FOG LAMP LEFT 2430 16GY/VT
6 HEADLAMP HIGH BEAM RIGHT 3602 14WT/RD
6 HEADLAMP HIGH BEAM RIGHT 67 16WT/RD
7 PASSENGER WINDOW DRIVER (UP) 1860 12RD/WT
8 GROUND 3325 12BR
9 PASSENGER WINDOW DRIVER (DOWN) 1859 12BR/WT
10 HEADLAMP LOW BEAM-LEFT 3594 14YL/BK
10 HEADLAMP LOW BEAM-LEFT 64 16YL/BK
11 REAR/SIDE DOORS UNLOCK DRIVER U2117 18DB/BK
12 REAR/SIDE DOORS LOCK DRIVER U2116 18DB/BR

Component Location - 15






Connector:
Name : MODULE-BODY CONTROL C9
Color : BROWN
# of pins : 52




Pin Description Circuit
1 HEATED REAR WINDOW RELAY 1 CONTROL 250 18GY/DG
2 HEATED REAR WINDOW RELAY 2 CONTROL 254 18BR/DB
3 LEFT SLIDING DOOR LOCK POSITION SENSE 1801 18YL/BK
3 LEFT SLIDING DOOR LOCK POSITION SENSE 4466 18YL/BK
3 LEFT SLIDING DOOR LOCK POSITION SENSE 558 18YL/BK
3 LEFT SLIDING DOOR LOCK POSITION SENSE 560 18YL/BK
4 LEFT SLIDING DOOR AJAR SWITCH SENSE 2909 18YL/WT
4 LEFT SLIDING DOOR AJAR SWITCH SENSE 4446 18YL/WT
4 LEFT SLIDING DOOR AJAR SWITCH SENSE 4465 18YL/WT
4 LEFT SLIDING DOOR AJAR SWITCH SENSE 557 18YL/WT
4 LEFT SLIDING DOOR AJAR SWITCH SENSE 559 18YL/WT
4 LEFT SLIDING DOOR AJAR SWITCH SENSE 1800 18YL/WT
5 SIDE MARKER 5 123 20DG/GY
6 CLEARANCE LAMP RIGHT 527 20DG/BR
6 BRAKE PAD-REAR RIGHT
7 - -
8 - -
9 PARKING LAMPS RIGHT 3603 20GY/RD
9 PARKING LAMPS RIGHT 73 20GY/RD
10 - -
11 SCREEN WASHER-FRONT 21 18VT/DG
12 DIRECTION INDICATOR-MIRROR FRONT LEFT 2553 18BK/DB
12 DIRECTION INDICATOR-MIRROR FRONT LEFT 2555 18BK/DG
13 DIRECTION INDICATOR-FRONT LEFT 3595 20BK/WT
13 DIRECTION INDICATOR-FRONT LEFT 71 20BK/WT
14 PASSENGER WINDOW SWITCH MUX 1869 20WT/RD
15 BRAKE FLUID 593 20DG/WT
16 - -
17 - -
18 GROUND-BRAKE FLUID 592 20DG/DB
19 PASSENGER WINDOW SWITCH RETURN 1870 20BR/RD
20 SENSOR GROUND 522 20BR
21 - 591 20BR/YL
23 PARKING LAMPS LEFT 3593 20GY/BK
23 PARKING LAMPS LEFT 72 20GY/BK
24 DIRECTION INDICATOR-FRONT RIGHT 3605 20BK/DG
24 DIRECTION INDICATOR-FRONT RIGHT 70 20BK/DG
25 DIRECTION INDICATOR-MIRROR FRONT RIGHT 1469 18BK/DG
25 DIRECTION INDICATOR-MIRROR FRONT RIGHT 2554 18BK/DB
26 SCREEN WASHER-REAR 519 18VT/DB
27 WASHER FLUID LEVEL 596 20DB/WT
28 - 594 20DG/YL
29 HEATED WINDSHIELD RELAY CONTROL 244 18RD/BR
30 - -
31 TERM.31B FRONT WIPERS 362 20BR/BK
32 PARKING BRAKE 572 20BR/WT
33 AAT SIGNAL 523 20DG
34 GROUND-FUEL TANK FILL LEVEL 3822 20DB/YL
36 GROUND-SCREEN WASHER FLUID 595 20BR/DG
38 - 3989 20DB
39 HEADLAMP WASHER 2297 18VT/YL
40 BRAKE PAD-FRONT LEFT 533 20VT/WT
41 RIGHT SLIDING DOOR AJAR SWITCH SENSE 1806 18PK/WT
41 RIGHT SLIDING DOOR AJAR SWITCH SENSE 2911 18PK/WT
41 RIGHT SLIDING DOOR AJAR SWITCH SENSE 4471 18PK/WT
41 RIGHT SLIDING DOOR AJAR SWITCH SENSE 4486 18PK/WT
41 RIGHT SLIDING DOOR AJAR SWITCH SENSE 561 18PK/WT
41 RIGHT SLIDING DOOR AJAR SWITCH SENSE 563 18PK/WT
42 RIGHT SLIDING DOOR LOCK POSITION SENSE 1808 18PK/BK
42 RIGHT SLIDING DOOR LOCK POSITION SENSE 4472 18PK/BK
42 RIGHT SLIDING DOOR LOCK POSITION SENSE 562 18PK/BK
42 RIGHT SLIDING DOOR LOCK POSITION SENSE 564 18PK/BK
43 PASSENGER DOOR AJAR SWITCH SENSE 1793 20DB/DG
44 - -
45 - -
46 - -
47 ENGINE RUNNING FUSED B(+) U261 18RD/BK
48 PASSENGER DOOR UNLOCK DRIVER 1795 18DB/BK
49 PASSENGER DOOR LOCK DRIVER 1796 18DB/RD
50 FUEL TANK LEVEL SENSOR 3821 20DB
51 CAN B BUS (+) 1553 20BR/RD
52 CAN B BUS (-) 1554 20BR

Component Location - 15