LEMON Manuals: Even more car manuals for everyone: 1960-2025
Home >> Freightliner >> 2007 >> Sprinter 2500 V6-3.0L DSL Turbo >> Repair and Diagnosis >> Diagrams >> Connector Views >> Electronic Brake Control Module >> Module-Anti-Lock Brakes
April 5, 2026: LEMON Manuals is launched! Read the announcement.

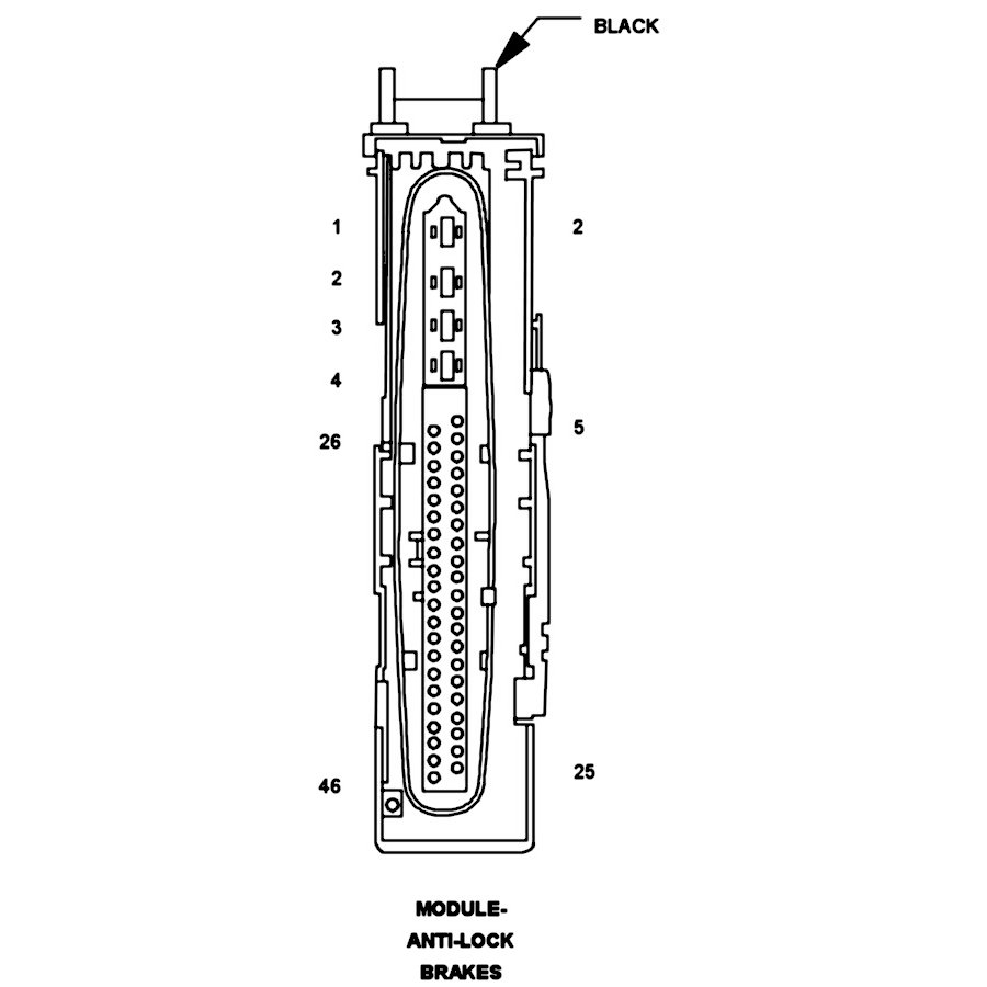
Module-Anti-Lock Brakes


Component ID: 257
Component : MODULE-ANTI-LOCK BRAKES

Connector:
Name : MODULE-ANTI-LOCK BRAKES
Color : BLACK
# of pins : 40
Gender : FEMALE




Pin Description Circuit
1 GROUND 2558 10BR
2 FUSED B(+) PUMP 3561 10RD/WT
3 FUSED B(+) VALVE 3576 12RD/BR
4 GROUND 2559 12BR/WT
5 - -
6 - -
7 - -
8 - -
9 - -
10 - -
11 - -
12 - -
13 LEFT FRONT WHEEL SPEED SENSOR (-) 27 20BK/YL
14 LEFT FRONT WHEEL SPEED SENSOR (+) 28 20BK
15 LEFT REAR WHEEL SPEED SENSOR (+) 24 20GY
16 LEFT REAR WHEEL SPEED SENSOR (-) 23 20GY/YL
18 RIGHT REAR WHEEL SPEED SENSOR (-) 20 20DB/YL
19 - -
20 BRAKE LAMP SWITCH-NORMALLY OPEN CONTACT U94 18BK/VT
21 - -
22 - -
23 - -
24 - -
25 - -
26 - -
27 - -
28 FUSED IGNITION SWITCH OUTPUT (RUN) U371 20BK/RD
29 CAN C BUS (-) 3564 20DG/WT
30 CAN C BUS (+) 3565 20DG
31 - -
32 - -
33 - -
34 - -
35 - -
36 BRAKE LAMP SWITCH-OPENER/NORMALLY CLOSED CONTACT 3577 18BK/DB
37 - -
38 RIGHT REAR WHEEL SPEED SENSOR (+) 21 20DB
39 RIGHT FRONT WHEEL SPEED SENSOR (+) 26 20WT
40 RIGHT FRONT WHEEL SPEED SENSOR (-) 25 20WT/YL