LEMON Manuals: Even more car manuals for everyone: 1960-2025
Home >> Freightliner >> 2007 >> Sprinter 2500 V6-3.0L DSL Turbo >> Repair and Diagnosis >> Powertrain Management >> Computers and Control Systems >> Engine Control Module >> Diagrams >> Connector Views >> Module-Engine Control
April 5, 2026: LEMON Manuals is launched! Read the announcement.

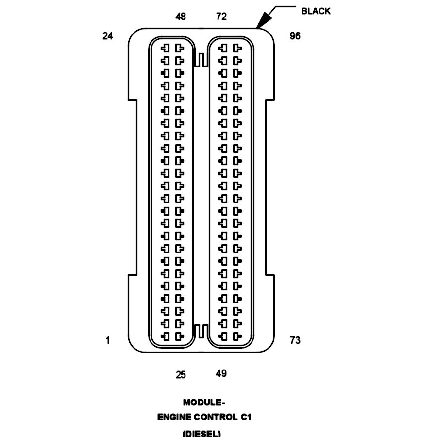
Module-Engine Control


Component ID: 264
Component : MODULE-ENGINE CONTROL

Connector:
Name : MODULE-ENGINE CONTROL C1
Color :
# of pins : 94
Qualifier : (DIESEL)
Gender : FEMALE




Pin Description Circuit
1 FUEL INJECTOR 1 HIGH-SIDE CONTROL 1347 14BK/WT
2 FUEL INJECTOR 2 HIGH-SIDE CONTROL 1349 14BK/DB
3 FUEL INJECTOR 3 HIGH-SIDE CONTROL 1351 14BK/YL
4 - -
5 - -
6 O2 1/1 PUMP CELL CURRENT TRIM 1276 18DG/BR
7 CRANKSHAFT POSITION SENSOR 5 VOLT SUPPLY 1472 20RD/DB
8 SENSOR GROUND 1315 20VT/BR
9 EXHAUST GAS PRESSURE SENSOR GROUND 1473 20PK/BR
10 CAMSHAFT POSITION SENSOR GROUND 1302 20BR/YL
11 EGR AIRFLOW CONTROL VALVE POSITION SENSOR SIGNAL 3277 20WT/DG
12 CRANKCASE VENT HEATER CONTROL 1309 18BK/BR
13 - 4134 20VT/GY
15 CAMSHAFT POSITION SENSOR 5 VOLT SUPPLY 1303 20RD/YL
15 - U760 20RD/YL
16 - 1265 20PK/DB
17 - 2857 20PK/WT
18 EXHAUST GAS PRESSURE SENSOR 5 VOLT SUPPLY 271 20PK/WT
19 BOOST PRESSURE SENSOR 5 VOLT SUPPLY 1240 20PK/YL
20 BOOST PRESSURE SENSOR 5 VOLT SUPPLY 3881 18DB/BR
21 DF SIGNAL (ALTERNATOR) 3280 18DB/BK
23 BOOST PRESSURE SERVO MOTOR CONTROL 1318 18VT/BK
24 EGR AIRFLOW CONTROL VALVE MOTOR (-) 3273 20WT/DB
25 FUEL INJECTOR 4 HIGH-SIDE CONTROL 1353 14BK/RD
26 FUEL INJECTOR 5 HIGH-SIDE CONTROL 1342 14BK/VT
27 FUEL INJECTOR 6 HIGH-SIDE CONTROL 1344 14BK/DG
28 INTAKE AIR TEMPERATURE SENSOR GROUND 1288 20BR/DG
30 - 1263 20BR/DB
31 O2 1/1 REFERENCE SIGNAL 1280 18DG/PK
33 CAMSHAFT POSITION SENSOR SIGNAL 1304 20YL/GY
34 - 1298 20GY/DB
35 WATER IN FUEL SENSOR SIGNAL 3270 18WT/BK
36 WATER IN FUEL SENSOR GROUND 2213 18BR/RD
37 MASS AIR FLOW SENSOR GROUND 1340 20YL/BR
39 OIL TEMPERATURE SENSOR SIGNAL 4129 20YL/DB
40 OIL PRESSURE SENSOR 5 VOLT SUPPLY 1297 20PK/GY
41 EGR AIRFLOW CONTROL VALVE SUPPLY 3275 20RD/WT
42 INLET AIR PRESSURE SENSOR 5 VOLT SUPPLY 156 20PK/VT
43 FUEL PRESSURE SENSOR 5 VOLT SUPPLY 1321 20YL/VT
47 FUEL QUANTITY SOLENOID 12 VOLT SUPPLY 1322 18DB/DG
48 O2 1/1 HEATER CONTROL 1278 16DG/BK
49 FUEL INJECTOR 5 LOW-SIDE CONTROL 1343 14VT
50 FUEL INJECTOR 1 LOW-SIDE CONTROL 1346 14WT
51 FUEL INJECTOR 6 LOW-SIDE CONTROL 1345 14DG
52 ENGINE COOLANT TEMPERATURE SENSOR GROUND 1295 20GY/DG
53 CRANKSHAFT POSITION SENSOR SIGNAL 2 1299 20DB/GY
56 FUEL TEMPERATURE SENSOR GROUND 1286 20WT/YL
57 O2 1/1 NEGATIVE CURRENT CONTROL 1279 18DG/GY
59 - -
60 ENGINE COOLANT TEMPERATURE SENSOR SIGNAL 1294 20DG/RD
61 FUEL TEMPERATURE SENSOR SIGNAL 1287 20WT/BR
62 EXHAUST GAS TEMPERATURE 1/3 GROUND 1311 20BR/PK
63 EXHAUST GAS TEMPERATURE 1/2 GROUND 1313 20BR/VT
64 FUEL PRESSURE SENSOR GROUND 1320 20OR
65 FUEL PRESSURE SENSOR SIGNAL 1319 20VT/DG
66 MASS AIR FLOW SENSOR SIGNAL 1339 20DG/YL
67 EGR AIRFLOW CONTROL VALVE RETURN 3274 20BR/WT
68 - 1354 18GY/RD
69 - 4133 20GY/BR
70 OIL PRESSURE SENSOR GROUND 3272 20BR/BK
71 EGR SOLENOID CONTROL 1308 18GY
72 EGR AIRFLOW CONTROL VALVE MOTOR (+) 3276 20WT/RD
73 FUEL INJECTOR 2 LOW-SIDE CONTROL 1348 14DB
74 FUEL INJECTOR 3 LOW-SIDE CONTROL 1350 14YL
75 FUEL INJECTOR 4 LOW-SIDE CONTROL 1352 14RD
76 OIL TEMPERATURE SENSOR GROUND 4130 20DB/YL
77 CRANKSHAFT POSITION SENSOR SIGNAL 1 1300 20GY/BK
78 EXHAUST GAS TEMPERATURE 1/1 GROUND 4132 20GY/OR
80 O2 1/1 POSITIVE CURRENT CONTROL 1277 18DG/DB
81 EXHAUST GAS PRESSURE SENSOR SIGNAL 1316 20DB/PK
82 BOOST PRESSURE SENSOR SIGNAL 1327 20YL/DG
83 EXHAUST GAS TEMPERATURE 1/3 SIGNAL 1310 20PK
84 INTAKE AIR TEMPERATURE SENSOR SIGNAL 1289 20DG/WT
85 INLET AIR PRESSURE SENSOR SIGNAL 1330 20VT/YL
86 - -
87 BOOST PRESSURE SENSOR GROUND 1326 20BR
88 LIN BUS U2032 18DB/RD
89 EXHAUST GAS TEMPERATURE 1/2 SIGNAL 1312 20VT/RD
90 MASS AIR FLOW TEMPERATURE SENSOR SIGNAL 1338 20GY/YL
91 EXHAUST GAS TEMPERATURE 1/1 SIGNAL 4131 20OR/GY
93 - 1317 18BR/DB
94 FUEL QUANTITY SOLENOID CONTROL 1323 18DG/VT
95 - -
96 - -



Connector:
Name : MODULE-ENGINE CONTROL C2
Color :
# of pins : 58
Qualifier : (DIESEL)




Pin Description Circuit
1 FUSED ASD RELAY OUTPUT 1255 12BK/GY
2 GROUND 1252 12BR
3 FUSED ASD RELAY OUTPUT U777 12BK/DG
4 GROUND 1253 12BR
5 FUSED ASD RELAY OUTPUT 1257 12BK/DB
6 GROUND 1254 12BR
7 APPS 1 SENSOR GROUND 1269 20BR/YL
8 - -
10 - -
11 EXHAUST DIFFERENTIAL PRESSURE SENSOR SIGNAL 1264 20DB/PK
12 5 VOLT SUPPLY 1270 20WT
13 - -
14 - -
15 5 VOLT SUPPLY 1267 20RD/YL
16 EXHAUST DIFFERENTIAL PRESSURE SENSOR 5 VOLT SUPPLY 1265 20PK/DB
17 APPS 2 SIGNAL 2857 20PK/WT
18 - 1261 20WT/DG
20 - -
21 - -
24 APPS 1 SIGNAL 1268 20YL
25 - 16BK
26 S/C SWITCH SENSE 2 16BK/WT
28 S/C SWITCH RETURN 18RD/BK
30 EXHAUST DIFFERENTIAL PRESSURE SENSOR GROUND 1263 20BR/DB
31 - -
32 FUEL PUMP RELAY CONTROL 1258 18RD/WT
34 - -
36 - -
37 - -
38 - -
39 - -
40 APPS 2 SENSOR GROUND 1266 20BR/WT
41 FUSED IGNITION SWITCH OUTPUT (RUN-START) 1357 18BK
42 ASD RELAY CONTROL 132 18BK/WT
44 ENGINE STARTER MOTOR RELAY CONTROL 133 18RD/BK
50 - -
51 CAN C BUS (+) 1260 20DG/WT
52 CAN C BUS (-) 1259 20DG
55 - -
56 - -
57 - -
58 - 3882 18GY/OR