LEMON Manuals: Even more car manuals for everyone: 1960-2025
Home >> Freightliner >> 2007 >> Sprinter 2500 V6-3.0L DSL Turbo >> Repair and Diagnosis >> Powertrain Management >> Computers and Control Systems >> Engine Control Module >> Diagrams >> Connector Views >> Module-Powertrain Control
April 5, 2026: LEMON Manuals is launched! Read the announcement.

Module-Powertrain Control


Component ID: 270
Component : MODULE-POWERTRAIN CONTROL

Connector:
Name : MODULE-POWERTRAIN CONTROL C1
Color : BLACK
# of pins : 58
Qualifier : (GAS)
Gender : FEMALE




2 GROUND 1677 14BR
3 VOLTAGE SUPPLY 1 TERM.87 U799 14BK/GY
4 GROUND 1678 14BR
5 - U799 14BK/GY
6 GROUND 1679 14BR
9 - 3823 20BR/VT
10 APPS NO.1 SENSOR GROUND 1663 20BR/YL
11 APPS NO.2 SENSOR GROUND 1662 20BR/WT
15 - 1777 18BK
16 - 1674 18RD/DG
17 - 1776 18RD/WT
19 RELAY-SECONDARY AIR PUMP 1 1685 18DB/BR
22 - 3825 20VT/RD
23 5 VOLT SUPPLY U786 20RD/YL
24 - 3824 20DG/VT
27 - 1693 18BK/WT
29 20WT/GY
30 - 1564 20WT/DG
31 - 293 18RD/BK
37 APPS NO.1 SIGNAL 1664 20YL
41 CAN C BUS (+) 1681 20DG/WT
45 - 1659 18OR
50 APPS NO.2 SIGNAL 1665 20WT
54 CAN C BUS (-) 1682 20DG
57 - 1658 18GY



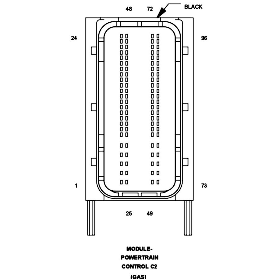
Connector:
Name : MODULE-POWERTRAIN CONTROL C2
Color : BLACK
# of pins : 96
Qualifier : (GAS)




Pin Description Circuit
1 CMP 1/1 CONTROL 1610 18YL/DB
2 - -
3 INJECTOR 6 CONTROL 1575 18BK/GY
4 - -
5 POWER STEERING ECO CONTROL 1653 18WT/BK
6 COIL 1 CONTROL 1579 18GY/BK
7 COIL 3 CONTROL 1581 18GY/DB
8 COIL 2 CONTROL 1580 18GY/BR
10 CMP 1/2 SIGNAL 1605 20DG/BK
11 O2 1/1 SIGNAL 1618 20DG/RD
12 O2 2/1 PUMP CELL CURRENT TRIM 1626 20DB/GY
13 O2 2/2 SIGNAL 1648 20RD/WT
14 O2 1/1 RETURN 1619 20DG
15 SENSOR GROUND U6101 20BR/DG
16 SENSOR GROUND U6102 18BR/DB
17 SENSOR GROUND 1629 20YL/GY
18 - -
19 MANIFOLD SWIRL CONTROL 272 20DG/GY
21 MANIFOLD FLOW CONTROL 273 20YL/VT
22 INJECTOR 4 CONTROL 1572 18DB
23 INJECTOR 1 CONTROL 1566 18BK
24 CMP 1/2 CONTROL 1611 18YL/RD
25 O2 2/2 HEATER GROUND 1651 18RD/DB
26 INJECTOR 5 CONTROL 1573 18BK/VT
27 O2 1/2 HEATER GROUND 1647 18RD/YL
30 COIL 4 CONTROL 1582 18GY/DG
31 COIL 6 CONTROL 1584 18GY/VT
32 COIL 5 CONTROL 1583 18GY/YL
34 CMP 2/2 SIGNAL 1606 20DG/PK
35 O2 2/1 SIGNAL 1623 20GY/RD
36 O2 2/1 PUMP CURRENT 1625 20WT/DB
37 AIR PUMP FLOW SIGNAL 1771 20VT/DG
38 O2 2/1 RETURN 1624 20GY
39 TP SENSOR GROUND 1642 20VT/GY
40 O2 RETURN U854 20BR/RD
41 O2 1/2 SIGNAL 1644 20RD/DG
42 5 VOLT SUPPLY U778 20WT/RD
43 5 VOLT SUPPLY 1643 20VT/YL
44 5 VOLT SUPPLY U779 20PK/DB
45 - 3925 18DB/RD
46 5 VOLT SUPPLY 1772 20VT
47 INJECTOR 3 CONTROL 1569 18BK/YL
48 CMP 2/1 CONTROL 1612 18YL/DG
49 O2 1/1 HEATER CONTROL RETURN 1622 18RD/BK
50 - -
51 INJECTOR 2 CONTROL 1568 18BK/WT
52 - -
53 ELECTRIC AIR PUMP SWITCHOVER CONTROL 1632 18GY/OR
54 THERMOSTAT HEATER CONTROL 1617 20OR
55 - -
56 CMP 2/1 SIGNAL 1604 20DG/DB
57 CMP 1/1 SIGNAL 1603 20DG/BR
58 MANIFOLD SWIRL POSITION 2 SIGNAL 1602 20PK/DG
59 KS 1 RETURN 1636 20WT/DG
60 KS 2 RETURN 1635 20WT/PK
61 O2 1/1 PUMP CELL CURRENT TRIM 1621 20VT/WT
62 OIL PRESSURE SIGNAL 1615 20DB/YL
64 TP SIGNAL 2 1640 20BR/GY
66 ECT SIGNAL 1600 20DG/YL
67 IAT SIGNAL 1630 20YL/WT
69 MAF SIGNAL 1631 20YL/BR
73 O2 2/1 HEATER CONTROL RETURN 1627 18RD/GY
74 ETC MOTOR (-) 1639 18BK/DB
75 ETC MOTOR (+) 1638 18BK/RD
80 SENSOR GROUND 1609 20DB/DG
81 CKP SIGNAL 1607 20DG/WT
82 MANIFOLD SWIRL POSITION 1 SIGNAL 1601 20DG/VT
83 KS 1 SIGNAL 1637 20PK/VT
84 KS 2 SIGNAL 1634 20PK
85 O2 1/1 PUMP CURRENT 1620 20WT/BR
86 MAP SIGNAL 1596 20VT/DB
88 TP SIGNAL 1 1641 20BR/OR
93 5 VOLT SUPPLY 496 20YL/PK
94 OIL LEVEL SIGNAL 1597 18DB/BR
95 CMP 2/2 CONTROL 1613 18YL/BK
96 OUTPUT-THROTTLE ACTUATOR -