LEMON Manuals: Even more car manuals for everyone: 1960-2025
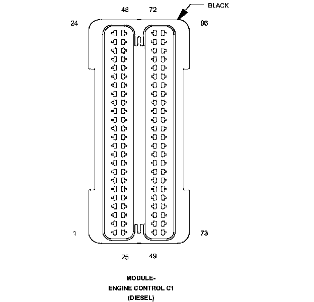
Home >> Freightliner >> 2009 >> Sprinter 2500 V6-3.0L DSL Turbo >> Repair and Diagnosis >> Diagrams >> Connector Views >> Engine Control Module >> Engine Control Module C1 (Diesel) (OM642) 94 Way
April 5, 2026: LEMON Manuals is launched! Read the announcement.

Engine Control Module C1 (Diesel) (OM642) 94 Way






Connector C1 (DIESEL) - (OM642) 94 WAY




MODULE-ENGINE CONTROL (DIESEL) - (OM642) 94 WAY