LEMON Manuals: Even more car manuals for everyone: 1960-2025
Home >> GMC >> 1990 >> Forward Control 3.9 L >> Repair and Diagnosis (Single Page) >> Engine Performance >> System >> Engine Controls - System/Component Tests >> Diesel Cold Advance System Check >> Cold Advance Relay
April 5, 2026: LEMON Manuals is launched! Read the announcement.

Cold Advance Relay

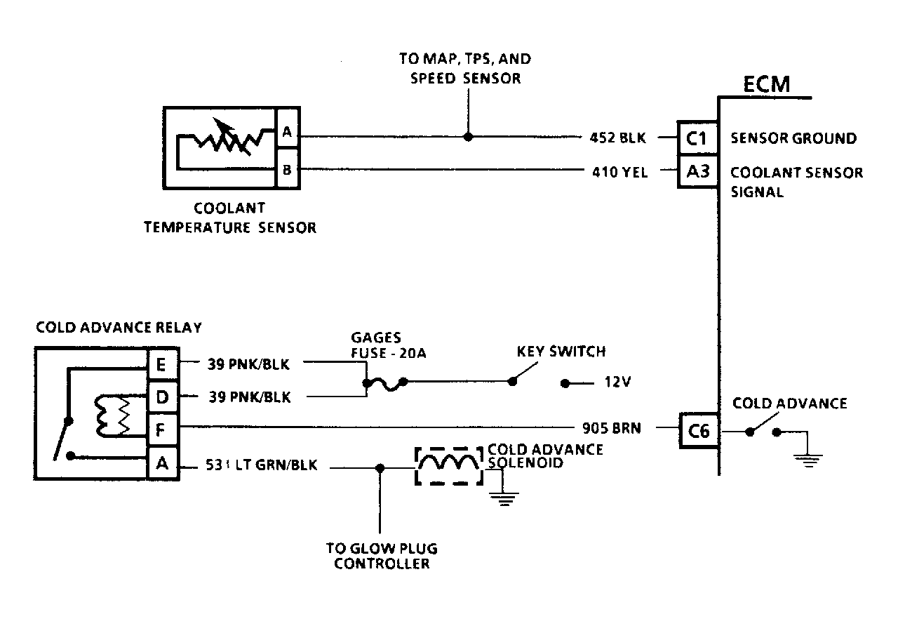
  1. Disconnect harness connector to cold advance relay. Using an ohmmeter, check resistance between relay terminals "D" and "F". See Fig 1. Continuity should be present or a resistance of 20 ohms. If not, replace cold advance relay.
  2. Using an ohmmeter, check continuity between relay terminals "A" and "E". See Fig 1. Continuity should not be present. If continuity is present, replace grounded cold advance relay.
Fig 1: Cold Start Advance System Schematic
G90J15742Courtesy of GENERAL MOTORS CORP.