LEMON Manuals: Even more car manuals for everyone: 1960-2025
Home >> GMC >> 1991 >> Syclone V6-262 4.3L Turbo >> Repair and Diagnosis >> Transmission and Drivetrain >> Differential Assembly >> Service and Repair >> Unit Repair >> Front Axle >> Assembly of the Axle >> Differential Assembly Installation >> Part-Time (4WD) Front Drive Axle
April 5, 2026: LEMON Manuals is launched! Read the announcement.

Part-Time (4WD) Front Drive Axle

^ Tools Required:
- J 33788 Axle Bearing Installer
- J 23423-A Bearing Cup Installer
- J 33792 Side Bearing Adjuster Wrench
- J 42213 Side Bearing Adjuster Wrench

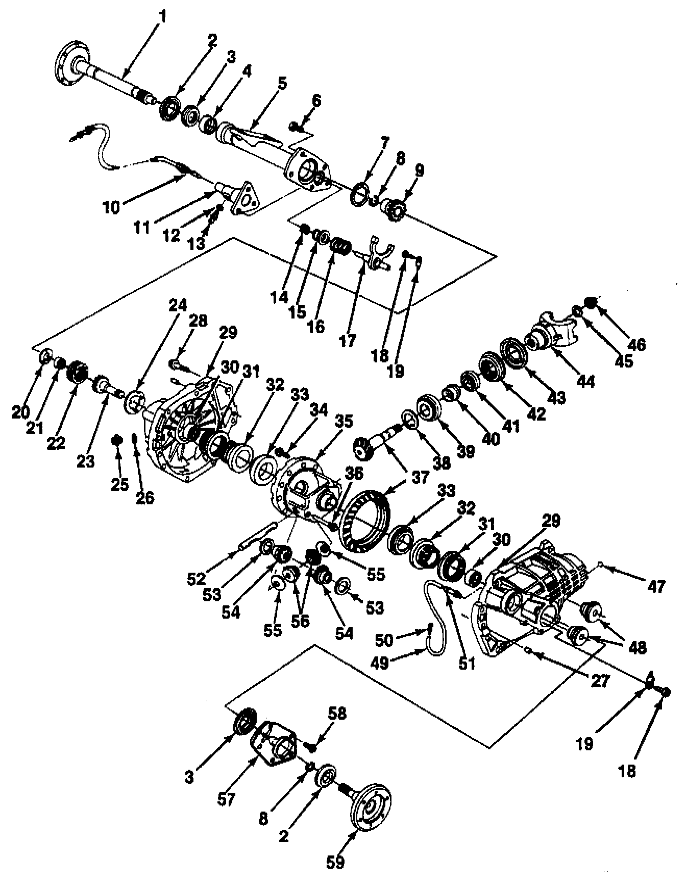
4x4 Front Axle Components:




Axle Components - Legend:






INSTALL OR CONNECT





1. Bearings into the sleeves using J 33788.
2. Sleeves into the carrier case. Thread in all the way.
3. Side bearing cups into the carrier case using J 23423-A.
4. Differential assembly to the carrier case.
A. Place the differential case assembly into the carrier case half which contains the pinion gear.
B. Turn the left sleeve in toward the differential case using J 42213 until backlash is felt between the ring and pinion gears.
5. Carrier case halves. Do not use any sealer at this time.





- If the carrier halves do not make complete contact, back out the right hand adjusting sleeve using J 33792.
6. Four bolts.
- Tighten bolts to 50 Nm (37 ft. lbs.).