LEMON Manuals: Even more car manuals for everyone: 1960-2025
Home >> GMC >> 1993 >> Forward Control 4.3 Z, Automatic >> Repair and Diagnosis (Single Page) >> Engine Performance >> System >> Engine Controls - Basic Testing >> C-4, Basic Ignition System Checks (Gasoline) >> 3.8L With C(3)I >> Tach Pulse (RPM Reference) Signal
April 5, 2026: LEMON Manuals is launched! Read the announcement.

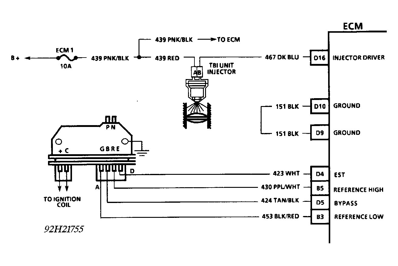
Tach Pulse (RPM Reference) Signal

Connect scan tester to DLC. RPM should be indicated on tester when engine is cranked or running. Tach pulse (RPM reference) will be indicated as a voltage signal when a DVOM connected to battery voltage is used to backprobe circuit No. 430 ECM terminal. See Figure-Figure .