LEMON Manuals: Even more car manuals for everyone: 1960-2025
Home >> GMC >> 1995 >> Forward Control 4.3 Z, Automatic >> Repair and Diagnosis (Single Page) >> Engine Performance >> System >> Engine Controls - System/Component Tests - 4.3L. >> Miscellaneous ECM/Pcm/VCM Controls >> A/C Clutch (C-10) >> A/C Clutch Relay
April 5, 2026: LEMON Manuals is launched! Read the announcement.

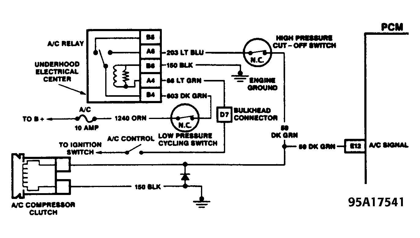
A/C Clutch Relay

  1. Disconnect A/C clutch relay harness connector. Using proper mini-schematic and an ohmmeter, check continuity between A/C clutch relay winding terminals. See Figure. Continuity should exist. Check continuity between clutch drive circuit terminals of relay. Continuity should not exist.
  2. Using jumper wires, apply ground and battery voltage to relay winding. Continuity should now exist between clutch drive circuit terminals of relay. Replace A/C clutch relay if continuity does not exist.