LEMON Manuals: Even more car manuals for everyone: 1960-2025
Home >> GMC >> 1996 >> Forward Control 4.3 W >> Repair and Diagnosis >> External Pages >> Different car >> Section 116 (Engine Controls - Basic Testing - 3.1L) >> A-7, Basic Fuel System Checks >> Field Service Mode Check
April 5, 2026: LEMON Manuals is launched! Read the announcement.

Field Service Mode Check

WARNING: This page is about a different car, the 1995 Pontiac Trans Sport and 1995 Chevrolet Lumina APV. However, it is still accessible from the selected car via links, so may be relevant.
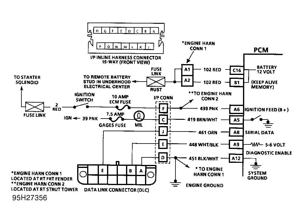
NOTE: Assembly Line Data Link (ALDL) connector may also be referred to as Data Link Connector (DLC). SERVICE ENGINE SOON (SES) light may also be referred to as Malfunction Indicator Light (MIL).
NOTE: Oxygen sensor may cool off while engine idles, causing system to enter open loop. To restore closed loop mode, run engine at part throttle several minutes and accelerate from idle to part throttle several times.

This test confirms proper fuel system operation and verifies closed loop operation. Clear codes and perform this test after any repair is completed. When performing this test, always engage parking brake and block drive wheels. Parking brake on FWD models does not hold drive wheels.

  1. Start engine. With engine running, ground diagnostic test terminal "B" of DLC. See Figure. In closed loop mode, Malfunction Indicator Light (MIL) flashes once per second.
  2. In open loop, light flashes 2.5 times per second. A lean exhaust is indicated if light is usually off. A rich exhaust is indicated if light is usually on.