LEMON Manuals: Even more car manuals for everyone: 1960-2025
Home >> GMC >> 1996 >> Safari Van Cargo, AWD >> Repair and Diagnosis >> Engine Performance >> System >> Engine Controls - System & Component Testing 4.3L >> Miscellaneous Pcm/VCM Controls >> Transmission (C-8) >> Converter Lock-Up Signal From PCM/VCM
April 5, 2026: LEMON Manuals is launched! Read the announcement.

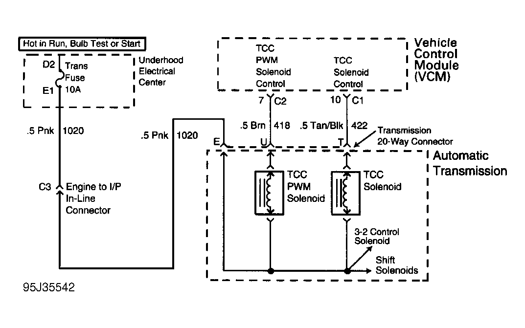
Converter Lock-Up Signal From PCM/VCM

  1. Warm engine to operating temperature. Raise vehicle and support drive wheels. Support suspension where necessary to prevent damage to drive axles.
  2. Connect a test light to battery voltage. Touch TCC control driver terminal with test light. See Figure . Accelerate vehicle to 45 MPH and note test light. If test light does not illuminate, problem is a faulty PCM/VCM connector or PCM/VCM. On some models, lock-up signal may be checked at Data Link Connector (DLC) terminal "F" instead of at PCM/VCM terminal.