LEMON Manuals: Even more car manuals for everyone: 1960-2025
Home >> GMC >> 2002 >> Jimmy 2D Utility, Part Time, Automatic >> Repair and Diagnosis >> External Pages >> Different car >> Section 1735 (Cellular Communication System) >> Diagnostic Information and Procedures >> DTC B2470: VCIM Does Not Detect The Presence Of A Cellular Antenna >> Notes
April 5, 2026: LEMON Manuals is launched! Read the announcement.

DTC B2470: VCIM Does Not Detect The Presence Of A Cellular Antenna: Notes

WARNING: This page is about a different car, the 2003 Saturn Vue. However, it is still accessible from the selected car via links, so may be relevant.
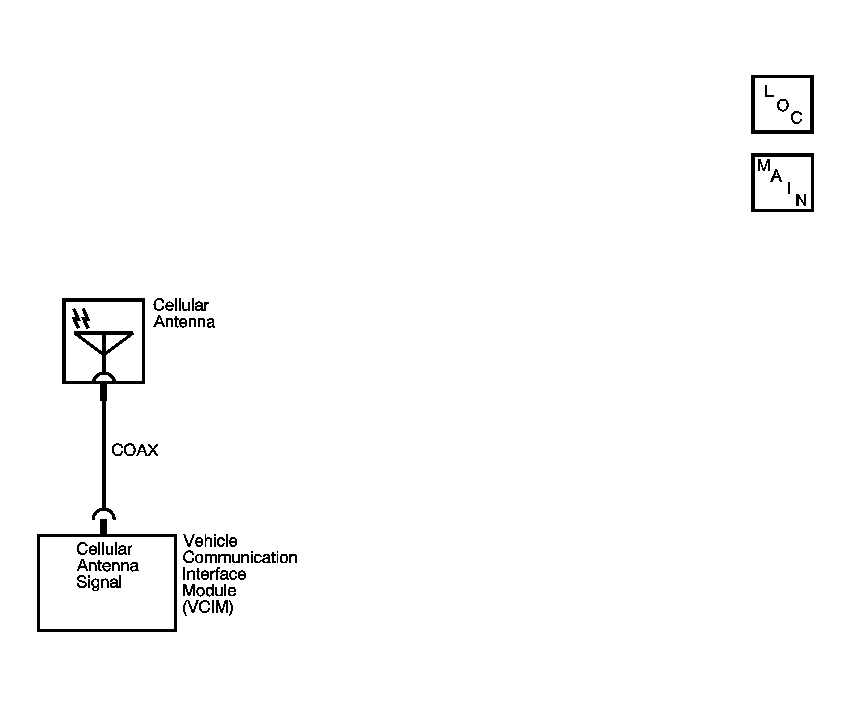
Fig 1: DTC B2470 Circuit Diagram
GM877505Courtesy of GENERAL MOTORS CORP.