LEMON Manuals: Even more car manuals for everyone: 1960-2025
Home >> GMC >> 2002 >> Jimmy 2D Utility, Part Time, Standard >> Repair and Diagnosis (Single Page) >> Electrical >> Body Electrical >> Wiring Systems (General Information) >> Diagnostic Information & Procedures >> Splicing Copper Wire Using Splice Clips >> Splicing Copper Wire Using Splice Clips Procedure
April 5, 2026: LEMON Manuals is launched! Read the announcement.

Splicing Copper Wire Using Splice Clips Procedure

  1. Open the harness.
    • If the harness is taped, remove the tape.
    • To avoid wiring insulation damage, use a sewing ripper in order to cut open the harness.
    • If the harness has a black plastic conduit, pull out the desired wire.
  2. Cut the wire.
    • Cut as little wire off the harness as possible.
    • Ensure that each splice is at least 40 mm (1.5 in) away from other splices, harness branches and connectors. This helps prevent moisture from bridging adjacent splices and causing damage.
  3. Select the proper size and type of wire.
    • The wire must be of equal or greater size than the original (except fusible link).
    • The wire's insulation must have the same or higher temperature rating.
      • Use general purpose insulation for areas that are not subject to high temperatures.
      • Use a cross-linked polyethylene insulated wire for areas where high temperatures are expected.
    IMPORTANT: Use cross-linked polyethylene wire to replace PVC, but do not replace cross-linked polyethylene with PVC.

    Cross-linked polyethylene wire is not fuel resistant. Do not use to replace wire where there is the possibility of fuel contact.

  4. Strip the insulation.
    • Select the correct size opening in the wire stripper or work down from the largest size.
    • Strip approximately 7.5 mm (5/16 in) of insulation from each wire to be spliced.
  5. Select the proper clip to secure the splice. Follow the instructions in the J 38125-B  in order to determine the proper clip size crimp tool and anvil.
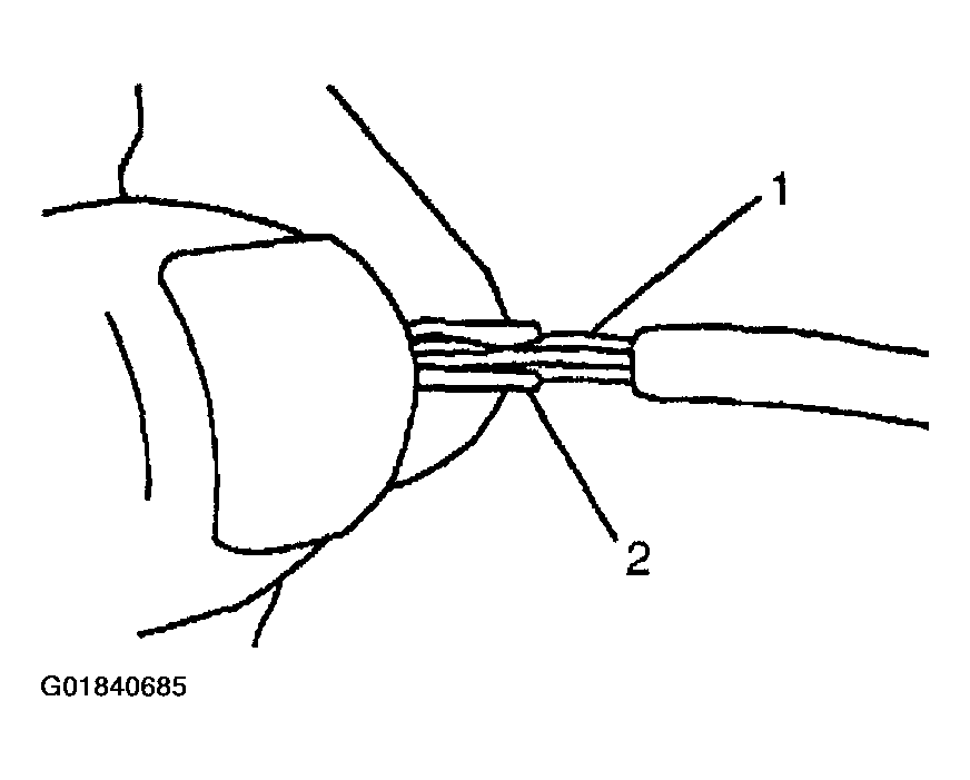
  6. Overlap the 2 stripped wire ends and hold them between thumb and forefinger.
    Fig 1: Holding Stripped Wire Ends
    G01840685Courtesy of GENERAL MOTORS CORP.
  7. Center the splice clip (2) over the stripped wires (1) and hold the clip in place.
    • Ensure that the wires extend beyond the clip in each direction.
    • Ensure that no insulation is caught under the clip.
  8. Center the crimp tool over the splice clip and wires.
    Fig 2: Positioning Splice Clip, Wires & Crimp Tool
    G01840686Courtesy of GENERAL MOTORS CORP.
  9. Apply steady pressure until the crimp tool closes. Ensure that no strands of wire are cut.
  10. Crimp the splice on each end (2).
    Fig 3: Crimping Splice
    G01840687Courtesy of GENERAL MOTORS CORP.
  11. Apply 60/40 rosin core solder to the opening in the back of the clip. Follow the manufacturer's instructions for the solder equipment.
    Fig 4: Soldering Wire Clip
    G01840688Courtesy of GENERAL MOTORS CORP.
  12. Tape the splice. Roll on enough tape in order to duplicate the thickness of the insulation on the existing wires.
    Fig 5: Taping Splice
    G01840689Courtesy of GENERAL MOTORS CORP.
  13. Additional tape can be applied to the wire if the wire does not belong in a conduit or another harness covering. Use a winding motion in order to cover the first piece of tape.
    Fig 6: Additional Splice Taping
    G01840690Courtesy of GENERAL MOTORS CORP.