LEMON Manuals: Even more car manuals for everyone: 1960-2025
Home >> GMC >> 2004 >> Yukon Denali >> Repair and Diagnosis (Single Page) >> Quick Lookups >> Wiring Diagrams >> OEM Connector End Views - Instrument Panel, Gages, Console, Lighting Systems, Power And Grounding, Power Door Systems, Power Outlet, Power Roof Systems, Power Seat Systems, Powertrain Control Module (Pcm) >> Lighting Systems Connector End Views >> License Lamp Connector End Views
April 5, 2026: LEMON Manuals is launched! Read the announcement.

License Lamp Connector End Views

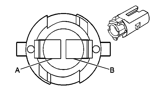
License Lamp - Left

GM309447Courtesy of GENERAL MOTORS CORP.
Connector Part Information
  • 12110053
  • Bulb Type W-2, Axial (GRY)
Pin Wire Color Circuit No. Function
A BRN 2509 Left Rear Park Lamps Supply Voltage
B BLK 1750 Ground
License Lamp - Right

GM309447Courtesy of GENERAL MOTORS CORP.
Connector Part Information
  • 12110053
  • Bulb Type W-2, Axial (GRY)
Pin Wire Color Circuit No. Function
A BRN 2609 Right Rear Park Lamps Supply Voltage (w/o NYS)
BRN/WHT 2509 Left Rear Park Lamps Supply Voltage (w/NYS)
B BLK 1750 Ground