LEMON Manuals: Even more car manuals for everyone: 1960-2025
Home >> GMC >> 2007 >> Acadia SLE, AWD >> Repair and Diagnosis >> External Pages >> Different car >> Section 1293 (Wiring Systems And Power Management - Component Connector End Views (4 Of 7)) >> Component Connector End Views >> Q8 Control Solenoid Valve Assembly X3 (MYA or MYD)
April 5, 2026: LEMON Manuals is launched! Read the announcement.

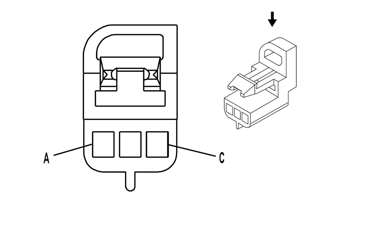
Q8 Control Solenoid Valve Assembly X3 (MYA or MYD)

WARNING: This page is about a different car, the 2013 Cadillac CTS. However, it is still accessible from the selected car via links, so may be relevant.
GM2334125
Connector Part Information
  • Harness Type: Transmission
  • OEM Connector: 13539487
  • Service Connector: Service by Harness - See Part Catalog
  • Description: 3-Way F Metri-Pack 150 Series (BK)
Terminal Part Information

Terminal Type ID Terminated Lead Diagnostic Test Probe Terminal Removal Tool Service Terminal Tray Core Crimp Insulation Crimp
I Pending Pending Not Available Service by Harness - See Part Catalog Service by Harness - See Part Catalog Not Available Not Available
Q8 Control Solenoid Valve Assembly X3 (MYA or MYD)

Pin Size Color Circuit Function Terminal Type ID Option
A 0.35 GN - Input Speed Sensor (ISS) Signal I -
B 0.35 RD - Input Speed Sensor (ISS)/Output Speed Sensor (OSS) Control I -
C 0.35 BK - Output Speed Sensor (OSS) Signal I -