LEMON Manuals: Even more car manuals for everyone: 1960-2025
Home >> GMC >> 2007 >> Acadia SLT, AWD >> Repair and Diagnosis (Single Page) >> Engine Performance >> System >> Engine Control System & Fuel - 3.6L (Ly7) - Introduction (2 Of 2) >> Component Locator >> Engine Control Module Connector End Views >> Engine Control Module (ECM) X1 (LY7) Connector
April 5, 2026: LEMON Manuals is launched! Read the announcement.

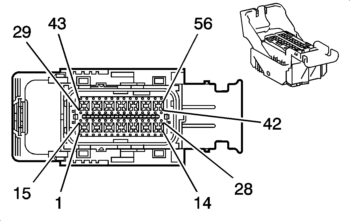
Engine Control Module (ECM) X1 (LY7) Connector

Fig 1: Engine Control Module (ECM) X1 (LY7) Connector End View
G00451816Courtesy of GENERAL MOTORS CORP.
Engine Control Module (ECM) X1 (LY7) Connector Parts Information

Connector Part Information 
  • OEM: 34576-3603
  • Service: See Catalog
  • Description: 56-Way F MX123 Series (BU)
Terminal Part Information 
  • Terminal/Tray: 33467-0005/23
  • Core/Insulation Crimp: J/J
  • Release Tool/Test Probe: J-38125-213/J-35616-64B (L-BU)
Engine Control Module (ECM) X1 (LY7) Connector Terminal Identification

Pin Wire Circuit No. Function
1-6 - - Not Used
7 0.5 WH 17 Stop Lamp Supply Voltage
8 - - Not Used
9 0.5 TN 452 Low Reference
10-11 - - Not Used
12 0.5 BN/WH 419 MIL Control
13 0.5 D-GN/WH 465 Fuel Pump Relay Control
14-17 - - Not Used
18 0.5 D-BU 5985 Ignition I/II Voltage
19 0.5 PK 439 Ignition II/III Voltage
20 0.5 RD/WH 540 Battery Positive Voltage
21-25 - - Not Used
26 0.5 YE 447 Starter Relay Coil Control
27-32 - - Not Used
33 0.5 WH/BK 1164 5-Volt Reference
34 0.5 GY 2709 5-Volt Reference
35 0.5 TN 1274 5-Volt Reference
36 0.5 BN 1271 Low Reference
37 0.5 PU 1272 Low Reference
38-39 - - Not Used
40 0.5 YE 5991 Powertrain Relay Coil Control
41-43 - - Not Used
44 0.5 PU 1589 Fuel Level Sensor Signal
45-46 - - Not Used
47 0.5 D-BU 1161 APP Sensor 1 Signal
48 0.5 D-GN 890 Fuel Tank Pressure Sensor Signal
49 0.5 L-BU 1162 APP Sensor 2 Signal
50-52 - - Not Used
53 0.5 D-GN/WH 459 A/C Compressor Clutch Relay Control
54 0.5 D-BU 473 High Speed Cooling Fan Relay Control
55 0.5 WH 1310 EVAP Canister Vent Solenoid Control
56 - - Not Used