K17 Electronic Brake Control Module (MX7)
WARNING: This page is about a different car, the 2013 Cadillac CTS. However, it is still accessible from the selected car via links, so may be relevant.
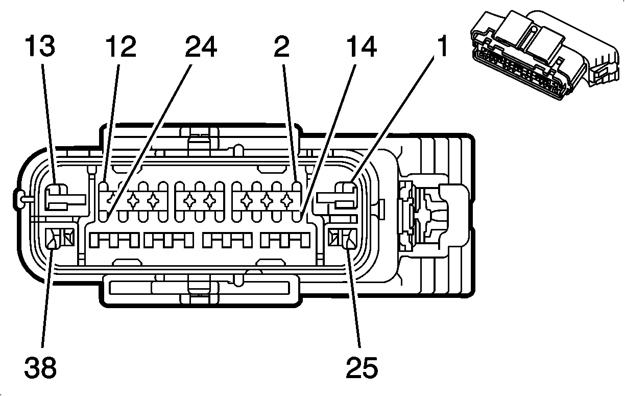
Connector Part Information
|
Terminal Part Information
| Terminal Type ID | Terminated Lead | Diagnostic Test Probe | Terminal Removal Tool | Service Terminal | Tray | Core Crimp | Insulation Crimp |
|---|---|---|---|---|---|---|---|
| I | 13578926 | J-35616-42 (RD) | J-38125-11A | 7116-4142-02 | 10 | D | 3 |
| II | SEALED: 13576388 UNSEALED: 13578917 | J-35616-64B (L-BU) | J-38125-215A | SAITS-A03T-M064 | 14 | 9 | 9 |
| III | SEALED: 13575392 UNSEALED: 13578903 | J-35616-4A (PU) | J-38125-553 | 15304720 | 19 | 4 | 5 |
K17 Electronic Brake Control Module (MX7)
| Pin | Size | Color | Circuit | Function | Terminal Type ID | Option |
|---|---|---|---|---|---|---|
| 1 | 5 | BK | 1150 | Ground | I | - |
| 2 | 0.5 | WH | 883 | Right Rear Wheel Speed Sensor Signal | II | - |
| 3 | 0.5 | BN | 882 | Right Rear Wheel Speed Sensor 12-Volt Reference | II | - |
| 4 | 0.5 | TN | 884 | Left Rear Wheel Speed Sensor 12-Volt Reference | II | - |
| 5 | 0.5 | OG | 885 | Left Rear Wheel Speed Sensor Signal | II | - |
| 6 | 0.5 | TN | 833 | Right Front Wheel Speed Sensor Signal | II | - |
| 7-11 | - | - | - | Not Occupied | - | - |
| 12 | 0.35 | L-BU | 5986 | Serial Data Communication Enable | II | - |
| 13 | 5 | RD/BK | 242 | Battery Positive Voltage | I | - |
| 14 | 0.5 | BN | 1295 | Variable Effort Steering Actuator Control | II | - |
| 15-16 | - | - | - | Not Occupied | - | - |
| 17 | 0.5 | D-GN | 872 | Right Front Wheel Speed Sensor 12-Volt Reference | II | - |
| 18 | 0.35 | GY | 1056 | Steering Wheel Position Sensor 12-Volt Reference Voltage | II | - |
| 19 | 0.35 | GY/BK | 1337 | Yaw Sensor 12-Volt Reference Voltage | II | - |
| 20 | - | - | - | Not Occupied | - | - |
| 21 | 0.35 | L-GN/BK | 6432 | CAN Bus Low Serial Data | II | - |
| 22 | - | - | - | Not Occupied | - | - |
| 23 | 0.5 | TN | 2501 | High Speed GMLAN Serial Data Bus- | II | - |
| 24 | 0.5 | TN | 2501 | High Speed GMLAN Serial Data Bus- | II | - |
| 25 | 2 | BK | 1150 | Ground | III | - |
| 26 | 0.5 | WH | 1294 | Variable Effort Steering Actuator Supply Voltage | II | - |
| 27 | - | - | - | Not Occupied | - | - |
| 28 | 0.5 | L-BU | 830 | Left Front Wheel Speed Sensor 12-Volt Reference | II | - |
| 29 | 0.5 | YE | 873 | Left Front Wheel Speed Sensor Signal | II | - |
| 30-31 | - | - | - | Not Occupied | - | - |
| 32 | 0.35 | D-GN/WH | 817 | Vehicle Speed Signal | II | - |
| 33 | 0.35 | TN/WH | 6433 | CAN Bus High Serial Data | II | - |
| 34-35 | - | - | - | Not Occupied | - | - |
| 36 | 0.5 | TN/BK | 2500 | High Speed GMLAN Serial Data Bus+ | II | - |
| 37 | 0.5 | TN/BK | 2500 | High Speed GMLAN Serial Data Bus+ | II | - |
| 38 | 2 | RD/BK | 42 | Battery Positive Voltage | III | - |