LEMON Manuals: Even more car manuals for everyone: 1960-2025
Home >> GMC >> 2007 >> Envoy 2WD L6-4.2L >> Repair and Diagnosis >> Specifications >> Mechanical Specifications >> Engine >> System Specifications >> Thread Repair Specifications
April 5, 2026: LEMON Manuals is launched! Read the announcement.

Thread Repair Specifications



Thread Repair Specifications

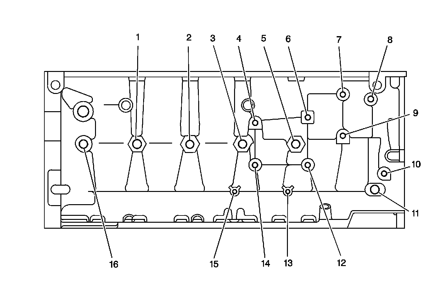
Engine Block - Top View

Engine Block:








Engine Block - Bottom View

Engine Block:








Engine Block - Left Side View

Engine Block:








Engine Block - Right Side View

Engine Block:








Engine Block - Front View

Engine Block:








Engine Block - Rear View

Engine Block:








Cylinder Head - Top View

Cylinder Head:








Cylinder Head - End View (Front)

Cylinder Head:








Cylinder Head - End View (Rear)

Cylinder Head:








Cylinder Head - Intake Manifold Deck View

Cylinder Head:








Cylinder Head - Exhaust Manifold Deck View

Cylinder Head:








Oil Pan - Top View

Oil Pan:








Oil Pan - Left Side View

Oil Pan:








Oil Pan - Right Side View

Oil Pan:








Oil Pan - Rear View

Oil Pan:








Engine Front Cover

Engine Front Cover:








Crankshaft Rear Oil Seal Housing

Crankshaft Rear Oil Seal Housing: