LEMON Manuals: Even more car manuals for everyone: 1960-2025
Home >> GMC >> 2007 >> Sierra 1500 2WD V8-5.3L >> Repair and Diagnosis >> Diagrams >> Connector Views >> Fuel Pressure Control Module
April 5, 2026: LEMON Manuals is launched! Read the announcement.

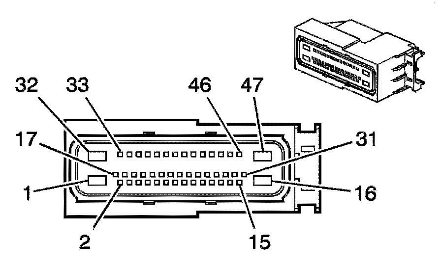
Fuel Pressure Control Module





Fuel System Control Module (L76/L92/LH6/LY2/LY5)






Connector Part Information

- OEM: 13570966
- Service: 89047377
- Description: 47-Way F 0.64 6.3 Series, Sealed (BK)

Terminal Part Information

- Pins: 1,16, 32, 47
- Terminal/Tray: 15476168/5
- Core/Insulation Crimp: F/3
- Release Tool/Test Probe: 15315247/J-35616-42 (RD)

- Pins: 5-7, 10, 13, 15, 17, 21, 22, 36, 44
- Terminal/Tray: 7116-3703-02/14
- Core/Insulation Crimp: 9/9
- Release Tool/Test Probe: J-38125-215/J-35616-64B (L-BU)