LEMON Manuals: Even more car manuals for everyone: 1960-2025
Home >> GMC >> 2007 >> Sierra Denali AWD V8-6.2L >> Repair and Diagnosis >> Body and Frame >> Seats >> Memory Positioning Systems >> Memory Positioning Module >> Diagrams
April 5, 2026: LEMON Manuals is launched! Read the announcement.

Memory Positioning Module: Diagrams



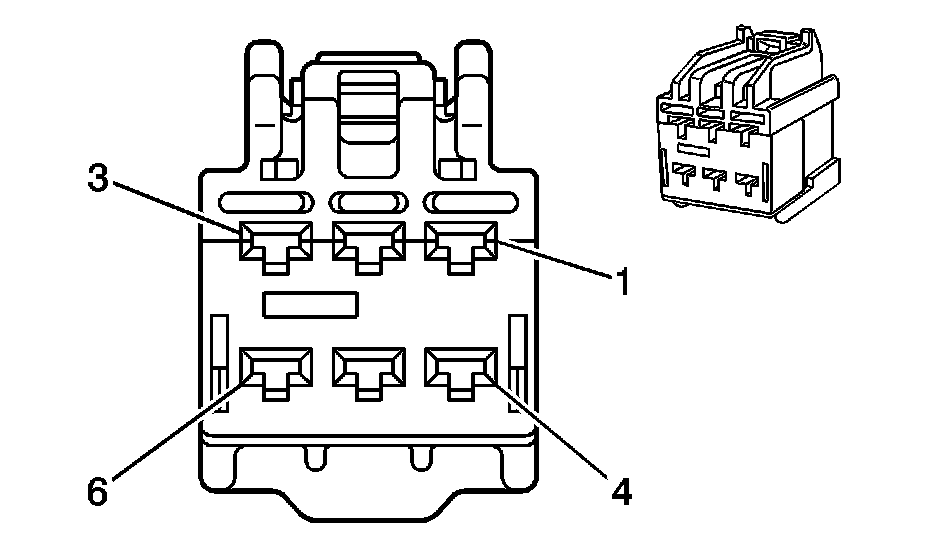
Power Seat Connector End Views

Memory Seat Module X1 (AN3)














Memory Seat Module X2 (AN3)














Memory Seat Module X3 (AN3)














Memory Seat Module X4 (AN3)














Memory Seat Module X5 (AN3)














Memory Seat Module X6 (AN3)














Memory Seat Module X7 (AN3)