LEMON Manuals: Even more car manuals for everyone: 1960-2025
Home >> GMC >> 2008 >> Acadia AWD V6-3.6L >> Repair and Diagnosis >> Diagrams >> Connector Views >> Transmission Control Systems
April 5, 2026: LEMON Manuals is launched! Read the announcement.

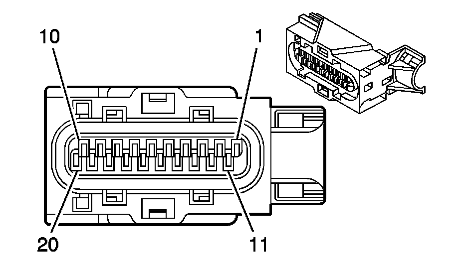
Transmission Control Systems



Component Connector End Views

Automatic Transmission