LEMON Manuals: Even more car manuals for everyone: 1960-2025
Home >> GMC >> 2008 >> Envoy 2WD L6-4.2L >> Repair and Diagnosis >> Powertrain Management >> Computers and Control Systems >> Engine Control Module >> Diagrams >> Connector Views
April 5, 2026: LEMON Manuals is launched! Read the announcement.

Connector Views


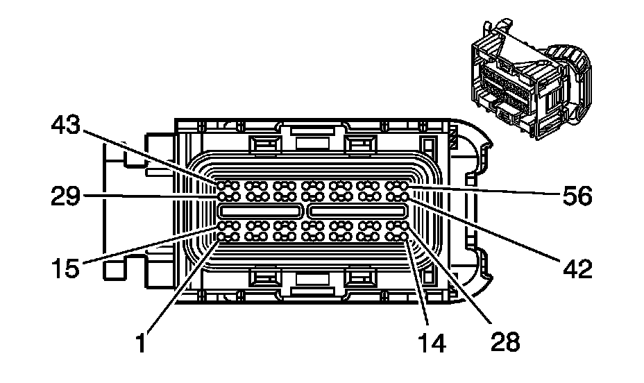
ENGINE CONTROL MODULE (ECM) X1












Connector Part Information
- OEM: 13587097 (4.2L) / 13574282 (5.3L)
- Service: 88988373
- Description: 56-Way F 0.64 Series Sealed (BU)

Terminal Part Information
- Pins: 1, 2, 4, 9, 12, 13, 16, 18, 20-22, 25, 30-37, 39-40, 44, 46-49, 53, 55, 56.
- Terminal/Tray: 33467-0003/23
- Core/Insulation Crimp: H/H
- Release Tool/Test Probe: J-38125-213/J-35616-64B (L-BU)

- Pins: 7, 19, 51
- Terminal/Tray: 33467-0005/23
- Core/Insulation Crimp: J/J
- Release Tool/Test Probe: J-38125-213/J-35616-64B (L-BU)

ENGINE CONTROL MODULE (ECM) X2















Connector Part Information
- OEM: 13606070 (4.2L)/13574286 (5.3L)
- Service: 88988931
- Description: 73-Way F 0.64 2.8 Series Sealed (BK)

Terminal Part Information
- Pins: 2-5, 11-13, 16, 18, 19, 32, 35, 42, 48, 49, 52, 55, 67-69, 70-72
- Pins: 27, 43 (4.2L)
- Pins: 1, 17, 33, 34, 53, 54, 62 (5.3L)
- Terminal/Tray: 33467-005/23
- Core/Insulation Crimp: J/J
- Release Tool/Test Probe: J-38125-213/J-35616-64B (L-BU)

- Pins: 6-9, 14, 23, 24, 29, 39, 40, 44, 46, 59, 60, 63, 64, 66
- Pins: 1, 17, 33, 34, 53, 54, 62 (4.2L)
- Pins: 27, 43 (5.3L)
- Terminal/Tray: 33467-0003/23
- Core/Insulation Crimp: H/H
- Release Tool/Test Probe: J-38125-213/J-35616-64B (L-BU)

- Pin: 73 (4.2L)
- Terminal/Tray: 4-964286-1/16
- Core/Insulation Crimp: E/1
- Release Tool/Test Probe: J-38125-36/J-35616-35 (VT)

- Pin: 73 (5.3L)
- Terminal/Tray: 7116-4152-02/9
- Core/Insulation Crimp: A/5
- Release Tool/Test Probe: 12094430/J-35616-35 (VT)

ENGINE CONTROL MODULE (ECM) X3












Connector Part Information
- OEM: 13608385 (4.2L)/13574284 (5.3L)
- Service: 88988372
- Description: 73-Way F 0.64 Series Sealed (GY)

Terminal Part Information
- Pins: 3-6, 9-11, 15, 26, 42, 48, 50, 62, 68, 69
- Terminal/Tray: 33467-0005/23
- Core/Insulation Crimp: J/J
- Release Tool/Test Probe: J-38125-213/J-35616-64B (L-BU)
- Pins: 7, 12, 17, 21, 23, 29, 33, 35, 37, 39, 47, 53, 55, 57, 59, 65, 66
- Terminal/Tray: 33467-0003/23
- Core/Insulation Crimp: H/H
- Release Tool/Test Probe: J-38125-213/J-35616-64B (L-BU)