LEMON Manuals: Even more car manuals for everyone: 1960-2025
Home >> GMC >> 2008 >> Yukon 2WD V8-5.3L >> Repair and Diagnosis >> Diagrams >> Connector Views >> Control Module, A/T
April 5, 2026: LEMON Manuals is launched! Read the announcement.

Control Module, A/T



Component Connector End Views - Continued

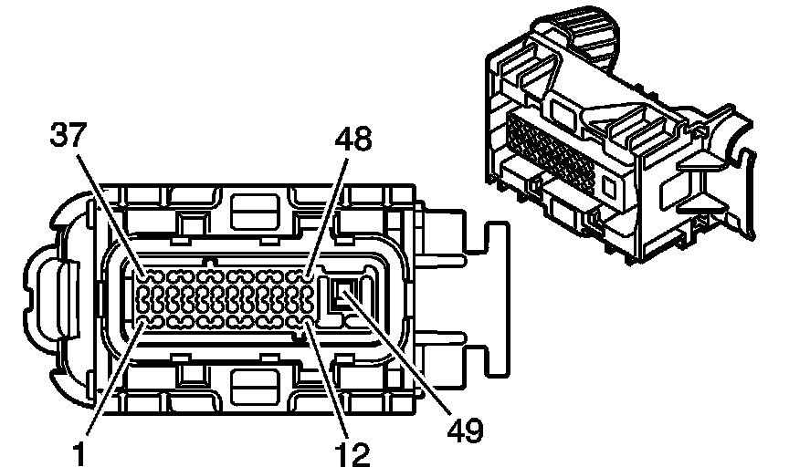
Transmission Control Module (TCM)(M30/M70)

Transmission Control Module (TCM), Engine Side:









Transmission Control Module (TCM)(M30/M70) (Pin 1 To 37):





Transmission Control Module (TCM)(M30/M70) (Pin 38 To 49):






Transmission Control Module (TCM), Engine Side (MT1)

Transmission Control Module (TCM), Engine Side:









Transmission Control Module (TCM), Engine Side (MT1) (Pin 1 To 37):





Transmission Control Module (TCM), Engine Side (MT1) (Pin 38 To 49):