LEMON Manuals: Even more car manuals for everyone: 1960-2025
Home >> GMC >> 2009 >> Yukon 2WD V8-5.3L >> Repair and Diagnosis >> Specifications >> Mechanical Specifications >> Engine >> System Specifications >> Thread Repair Specifications
April 5, 2026: LEMON Manuals is launched! Read the announcement.

Thread Repair Specifications




Thread Repair Specifications

Engine Block - Front/Rear Views

Engine Block:









Engine Block - Left/Right Side Views

Engine Block:









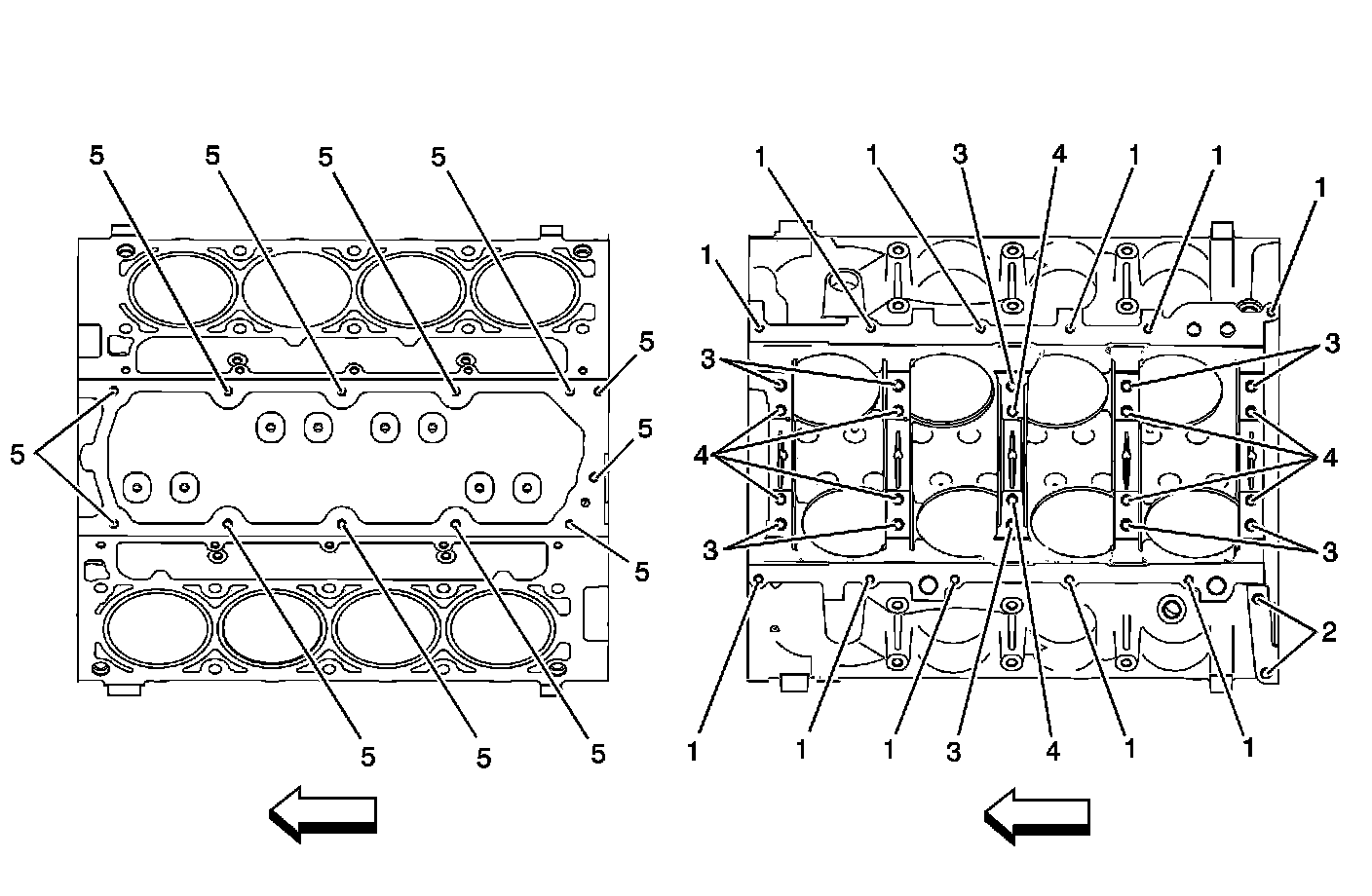
Engine Block - Top/Bottom Views

Engine Block:









Cylinder Head - Top/End Views

Cylinder Head:









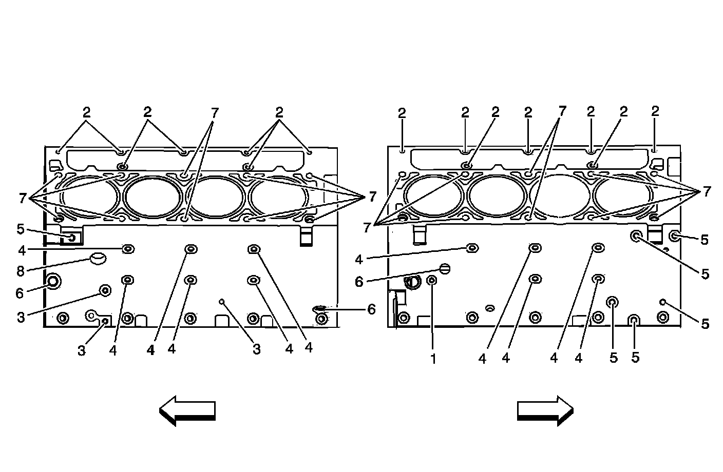
Cylinder Head - Intake/Exhaust Side Views

Cylinder Head: