LEMON Manuals: Even more car manuals for everyone: 1960-2025
Home >> GMC >> 2009 >> Yukon Base, 4.8 C >> Repair and Diagnosis >> External Pages >> Different car >> Section 493 (Wiring Systems And Power Management - Component Connector End Views - Electronic Steering Control Module X2 Through Memory Seat Module) >> Component Connector End Views >> Generator Battery Vent Fan (HP2)
April 5, 2026: LEMON Manuals is launched! Read the announcement.

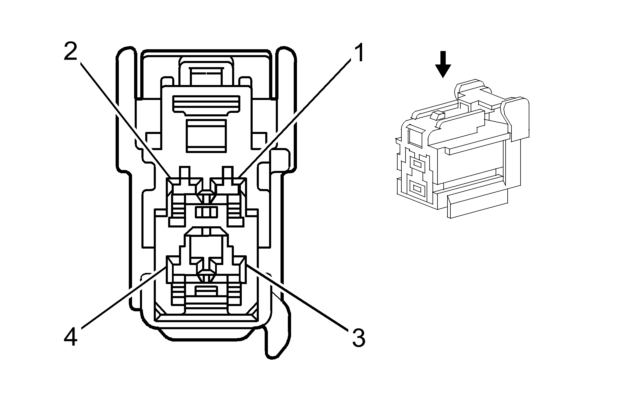
Generator Battery Vent Fan (HP2)

WARNING: This page does not describe the selected car, but rather 8 other vehicles, including the 2011 GMC Yukon XL, 2011 GMC Yukon, 2011 Chevrolet Tahoe, 2011 Chevrolet Suburban, and 2011 Chevrolet Avalanche. However, it is still accessible from the selected car via links, so may be relevant.
Fig 1: Generator Battery Vent Fan (HP2) Connector End View
GM1413036Courtesy of GENERAL MOTORS CORP.
Generator Battery Vent Fan (HP2)

Pin Wire Circuit Function
1 L-GN - Not Used
2 PK/D-BU - Fan Motor Power Feed
3 BK/YE - Ground
4 L-GN/BK - 5-Volt Reference
Connector Part Information
  • Harness Type: Drive Motor Generator Battery Control
  • OEM Connector: 7283-5531-40
  • Service Connector: Service by Harness - See Part Catalog
  • Description: 4-Way F YESC/USCAR Class III (D-GY)
Terminal Part Information
  • Terminal/Tray: Service by Harness - See Part Catalog
  • Core/Insulation Crimp: Not Available
  • Release Tool/Test Probe: Not Available