LEMON Manuals: Even more car manuals for everyone: 1960-2025
Home >> GMC >> 2009 >> Yukon Base, 4.8 C >> Repair and Diagnosis >> External Pages >> Different car >> Section 628 (Wiring Systems And Power Management - Component Connector End Views - Electronic Compass Module To Memory Seat Module (X4)) >> Component Connector End Views >> Inflatable Restraint Passenger Presence System (PPS) Module (without HP2 or Z75 with HP2)
April 5, 2026: LEMON Manuals is launched! Read the announcement.

Inflatable Restraint Passenger Presence System (PPS) Module (without HP2 or Z75 with HP2)

WARNING: This page does not describe the selected car, but rather 8 other vehicles, including the 2012 GMC Yukon XL, 2012 GMC Yukon, 2012 Chevrolet Tahoe, 2012 Chevrolet Suburban, and 2012 Chevrolet Avalanche. However, it is still accessible from the selected car via links, so may be relevant.
GM1974974Courtesy of
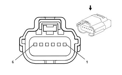
Connector Part Information
  • Harness Type: Passenger Seat
  • OEM Connector: 88988771
  • Service Connector: 13577043
  • Description: 6-Way F M64 Series, Sealed (BK)
Terminal Part Information
  • Terminated Lead: Service by Harness - See Part Catalog
  • Release Tool: Not Available
  • Diagnostic Test Probe: J-35616-64B (L-BU)
  • Terminal/Tray: Not Available
  • Core/Insulation Crimp: Not Available
Inflatable Restraint Passenger Presence System (PPS) Module (without HP2 or Z75 with HP2)

Pin Wire Circuit Function
1 0.5 RD/WH 4440 Battery Positive Voltage
2 0.35 D-GN 5060 Low Speed GMLAN Serial Data
3 - - Not Used
4 0.5 BK/WH 2751 Low Reference
5 0.35 D-GN 5612 Passenger Seat Belt Tension Sensor Voltage Reference
6 0.35 D-GN/WH 5611 Passenger Seat Belt Tension Sensor Signal