LEMON Manuals: Even more car manuals for everyone: 1960-2025
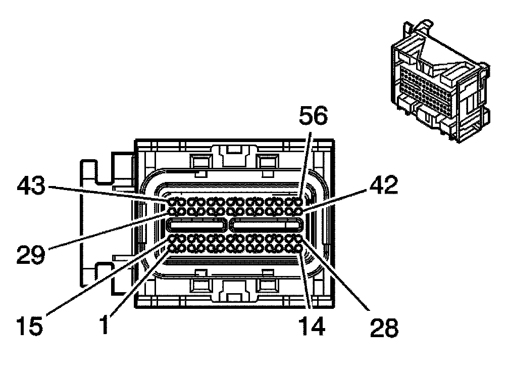
Home >> GMC >> 2011 >> Sierra 2500 2WD V8-6.0L >> Repair and Diagnosis >> Powertrain Management >> Relays and Modules - Powertrain Management >> Relays and Modules - Computers and Control Systems >> Engine Control Module >> Diagrams >> Engine Control Module (ECM) X1
April 5, 2026: LEMON Manuals is launched! Read the announcement.

Engine Control Module (ECM) X1



ENGINE CONTROL MODULE (ECM) X1
(RPO L96)


































RPO Codes
RPO L96, VIN G - Gas, 8 Cylinder, 6.0L, SFI, Iron, GM