LEMON Manuals: Even more car manuals for everyone: 1960-2025
Home >> GMC >> 2011 >> Sierra Denali AWD V8-6.2L >> Repair and Diagnosis >> Transmission and Drivetrain >> Power Take-Off >> Service and Repair >> Engine Speed Power Take-Off Control Module Replacement
April 5, 2026: LEMON Manuals is launched! Read the announcement.

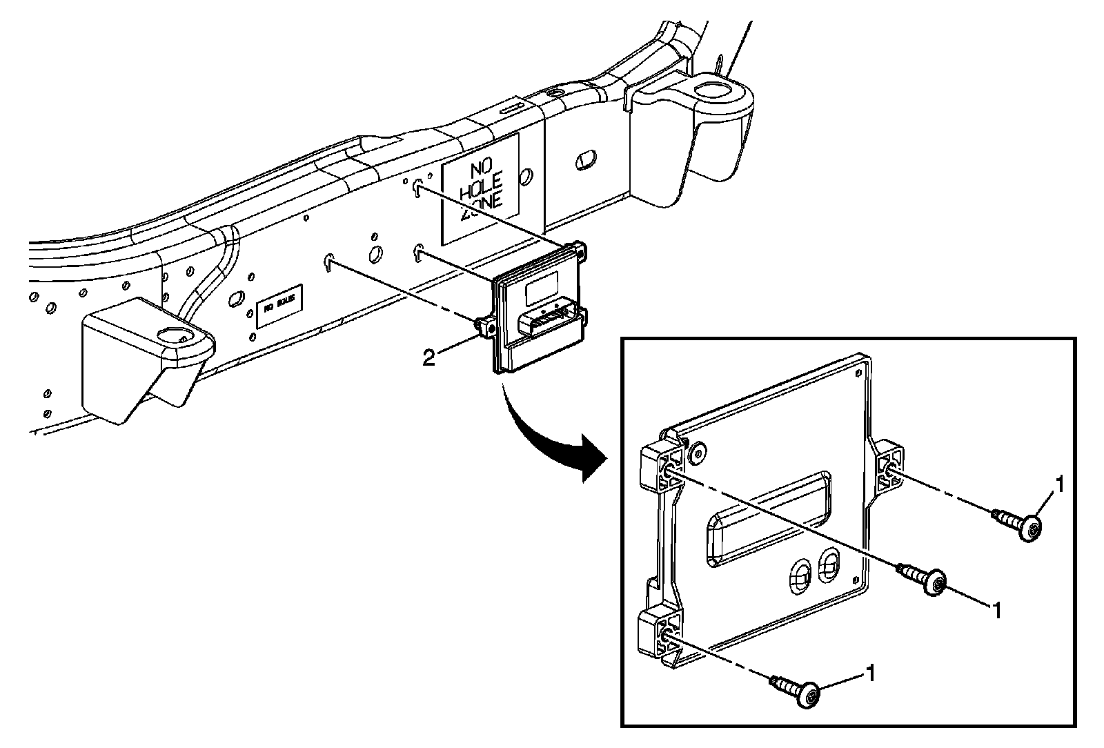
Engine Speed Power Take-Off Control Module Replacement




Engine Speed Power Take-Off Control Module Replacement