LEMON Manuals: Even more car manuals for everyone: 1960-2025
Home >> GMC >> 2012 >> Acadia SL, FWD >> Repair and Diagnosis (Single Page) >> Quick Lookups >> Wiring Diagrams >> Wiring Systems And Power Management - Component Connector End Views - Engine Cooling Fan (Right) To Memory Seat Module X4 >> Component Connector End Views >> Liftgate Object Sensor - Left (TB5)
April 5, 2026: LEMON Manuals is launched! Read the announcement.

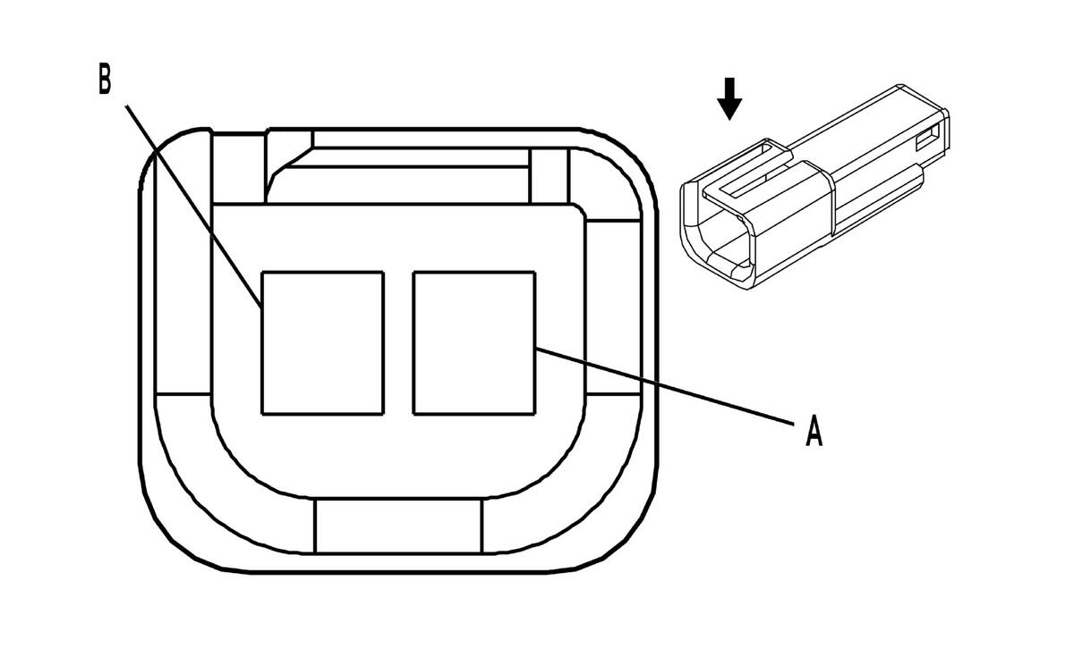
Liftgate Object Sensor - Left (TB5)

GM1664595Courtesy of
Connector Part Information
  • Harness Type: Liftgate
  • OEM Connector: 12048457
  • Service Connector: 13584278
  • Description: 2-Way M Metri-Pack 150 Series (BK)
Terminal Part Information
  • Terminated Lead: 13575462
  • Release Tool: J-38125-12A
  • Diagnostic Test Probe: J-35616-3 (GY)
  • Terminal/Tray: 12047581/2
  • Core/Insulation Crimp: E/C
Liftgate Object Sensor - Left (TB5)

Pin Wire Circuit Function
A 0.35 PU/WH 5801 Low Reference
B 0.35 PK/BK 5802 Liftgate Object Sensor Signal