LEMON Manuals: Even more car manuals for everyone: 1960-2025
Home >> GMC >> 2012 >> Acadia SL, FWD >> Repair and Diagnosis (Single Page) >> Quick Lookups >> Wiring Diagrams >> Wiring Systems And Power Management - Component Connector End Views - Memory Seat Module X5 To Yaw Sensor >> Component Connector End Views >> Steering Column Telescope Actuator (N38)
April 5, 2026: LEMON Manuals is launched! Read the announcement.

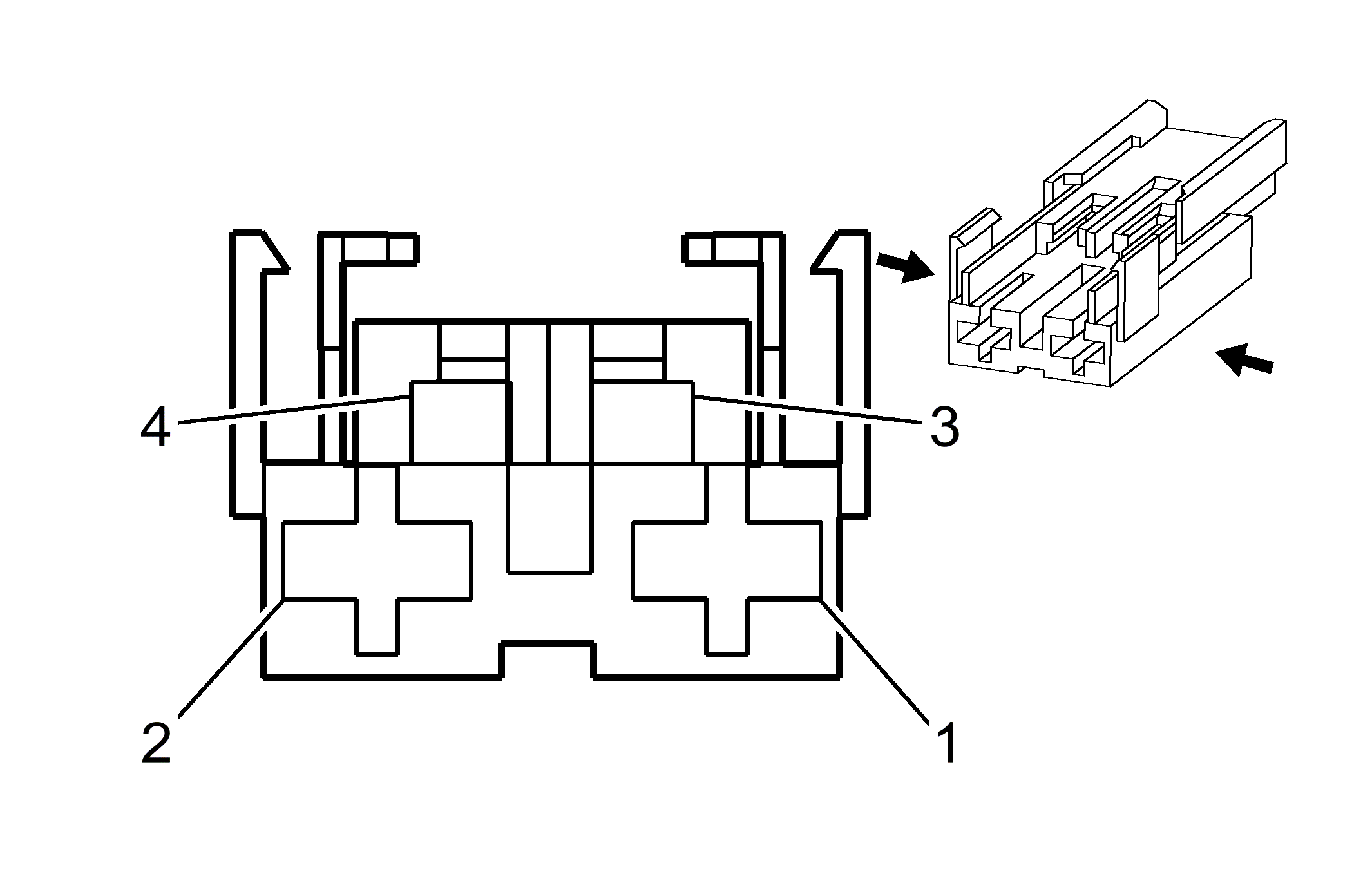
Steering Column Telescope Actuator (N38)

GM1540778Courtesy of
Connector Part Information
  • Harness Type: Tilt and Telescope Motors
  • OEM Connector: 15324915
  • Service Connector: Service by Harness - See Part Catalog
  • Description: 4-Way F (BK)
Terminal Part Information
  • Terminated Lead: 13575760
  • Release Tool: J-38125-36
  • Diagnostic Test Probe: J-35616-35 (VT)
  • Terminal/Tray: 2-964284-1/25
  • Core/Insulation Crimp: E/A
Steering Column Telescope Actuator (N38)

Pin Wire Circuit Function
1 1 OG 2098 Steering Column Telescope Motor Forward
2 1 TN 2110 Steering Column Telescope Motor Control - Reverse
3-4 - - Not Used