LEMON Manuals: Even more car manuals for everyone: 1960-2025
Home >> GMC >> 2012 >> Canyon 2WD L4-2.9L >> Repair and Diagnosis >> Engine, Cooling and Exhaust >> Engine >> Specifications >> Thread Repair Specifications
April 5, 2026: LEMON Manuals is launched! Read the announcement.

Thread Repair Specifications




Thread Repair Specifications

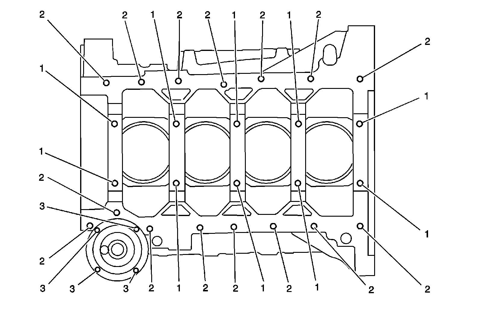
Engine Block - Top View










Engine Block - Bottom View










Engine Block - Left Side View










Engine Block - Right Side View










Engine Block - Front View










Engine Block - Rear View










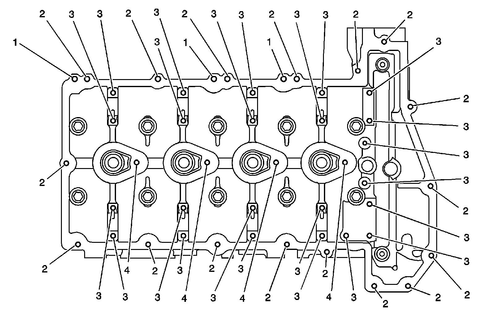
Cylinder Head - Top View










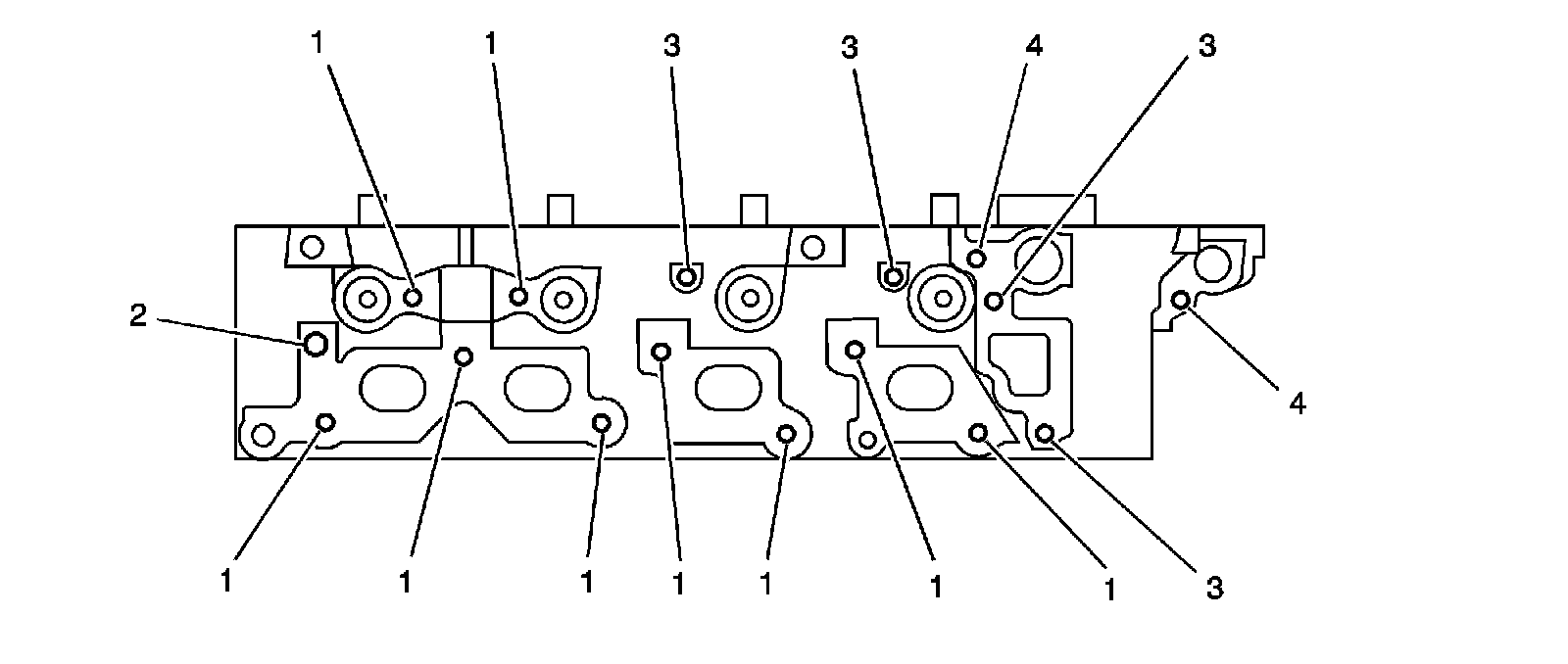
Cylinder Head - End - Front View










Cylinder Head - End - Rear View










Cylinder Head - Intake Manifold Deck View










Cylinder Head - Exhaust Manifold Deck View










Oil Pan - Bottom View










Oil Pan - Rear View










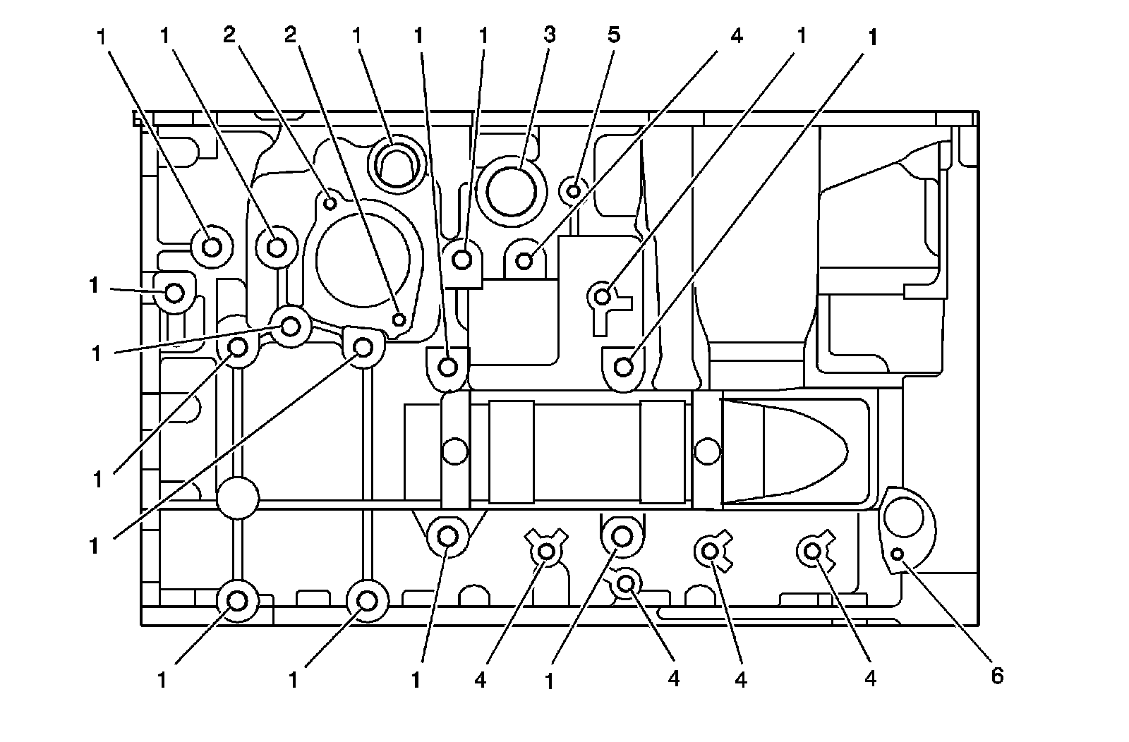
Engine Front Cover










Crankshaft Rear Oil Seal Housing