LEMON Manuals: Even more car manuals for everyone: 1960-2025
Home >> GMC >> 2016 >> Acadia SLE, AWD >> Repair and Diagnosis (Single Page) >> Quick Lookups >> Wiring Diagrams >> Wiring Systems And Power Management - Component Connector End Views - F112P To K33 X2 CJ2 >> Component Connector End Views >> K18 Compass Module
April 5, 2026: LEMON Manuals is launched! Read the announcement.

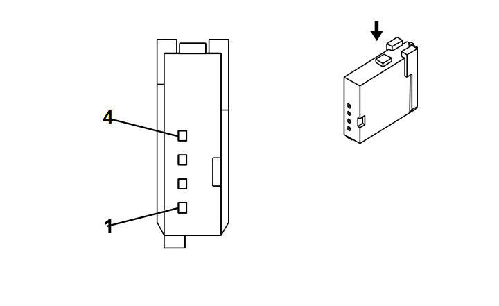
K18 Compass Module

GM2831061
Connector Part Information
  • Harness Type: Headliner
  • OEM Connector: 13577683
  • Service Connector: 19300398
  • Description: 4-Way F 0.64 Series (BK)
Terminal Part Information

Terminal Type ID Terminated Lead Diagnostic Test Probe Terminal Removal Tool Service Terminal Tray Name Core Crimp Insulation Crimp
I Not Required J-35616-64B (LT BU) Not Required Not Required Not Required Not Required Not Required
Pin Size Color Circuit Function Terminal Type ID Option
1 0.35 OG 300 Run Ignition 3 Voltage I -
2 0.35 BK 850 Ground I -
3 0.35 GY 6135 Local Interconnect Network Serial Data Bus 4 I -
4 - - - Not Occupied - -