LEMON Manuals: Even more car manuals for everyone: 1960-2025
Home >> GMC >> 2019 >> Terrain SL >> Repair and Diagnosis >> External Pages >> Different car >> Section 15 (Component Connector End Views (K9 - K29F)) >> Component Connector End Views >> K26 Headlamp Control Module (TR7)
April 5, 2026: LEMON Manuals is launched! Read the announcement.

K26 Headlamp Control Module (TR7)

WARNING: This page is about a different car, the 2018 GMC Terrain and 2018 Chevrolet Equinox. However, it is still accessible from the selected car via links, so may be relevant.
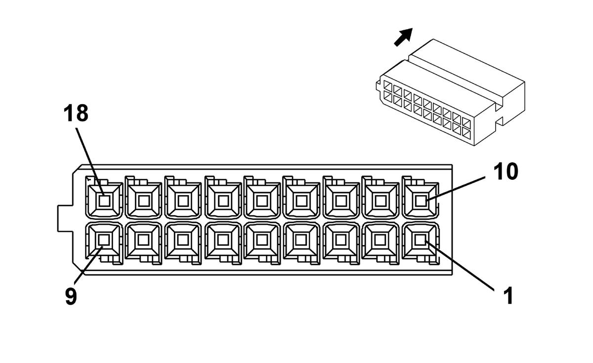
GM1457336
Connector Part Information
  • Harness Type: Body
  • OEM Connector: 1379102-1
  • Service Connector: 13504129
  • Description: 18-Way F 0.64 Micro-Quadlock Series (BK)
Terminal Part Information

Terminal Type ID Terminated Lead Diagnostic Test Probe Terminal Removal Tool Service Terminal Tray Name Core Crimp Insulation Crimp
I 13579993 J-35616-64B (LT BU) J-38125-12A 144969-1 Lear 25 E 2
Pin Size Color Circuit Function Terminal Type ID Option
1 0.35 BK 1050 Ground I T4L+TR7
2 0.35 WH/RD 2165 Automatic Level Control Position Sensor 5V Reference I T4L+TR7
3 0.35 BK/BN 2185 Automatic Level Control Position Sensor Low Reference I T4L+TR7
4 0.35 WH/GY 3936 High Speed GMLAN Serial Data (-) 8 I T4L+TR7
5 0.35 BU/GY 3935 High Speed GMLAN Serial Data (+) 8 I T4L+TR7
6 0.35 BN 2184 Automatic Level Control Position Sensor Signal I T4L+TR7
7 0.35 WH/BU 5986 Serial Data Communication Enable I T4L+TR7
8 - 9 - - - Not Occupied - -
10 0.35 RD/VT 1242 Battery Positive Voltage I -
11 0.35 WH/RD 7524 Front Axle Level Sensor 5V Reference I T4L+TR7
12 0.35 BK/GY 7526 Front Axle Level Sensor Low Reference I T4L+TR7
13 0.35 WH/GY 3936 High Speed GMLAN Serial Data (-) 8 I T4L+TR7
14 0.35 BU/GY 3935 High Speed GMLAN Serial Data (+) 8 I T4L+TR7
15 0.35 BN/WH 7525 Front Axle Level Sensor Signal I T4L+TR7
16 - - - Not Occupied - -
17 0.35 GN/WH 7530 Local Interconnect Network Serial Data Bus 8 I T4L+TR7
18 0.35 GN/BN 7529 Local Interconnect Network Serial Data Bus 7 I T4L+TR7