LEMON Manuals: Even more car manuals for everyone: 1960-2025
Home >> GMC >> 2019 >> Terrain SL >> Repair and Diagnosis >> External Pages >> Different car >> Section 652 (Component Connector End Views (K32 - K69)) >> Component Connector End Views >> K36 Restraints Control Module X1 (1SV/UKL)
April 5, 2026: LEMON Manuals is launched! Read the announcement.

K36 Restraints Control Module X1 (1SV/UKL)

WARNING: This page is about a different car, the 2022 Cadillac CT5. However, it is still accessible from the selected car via links, so may be relevant.
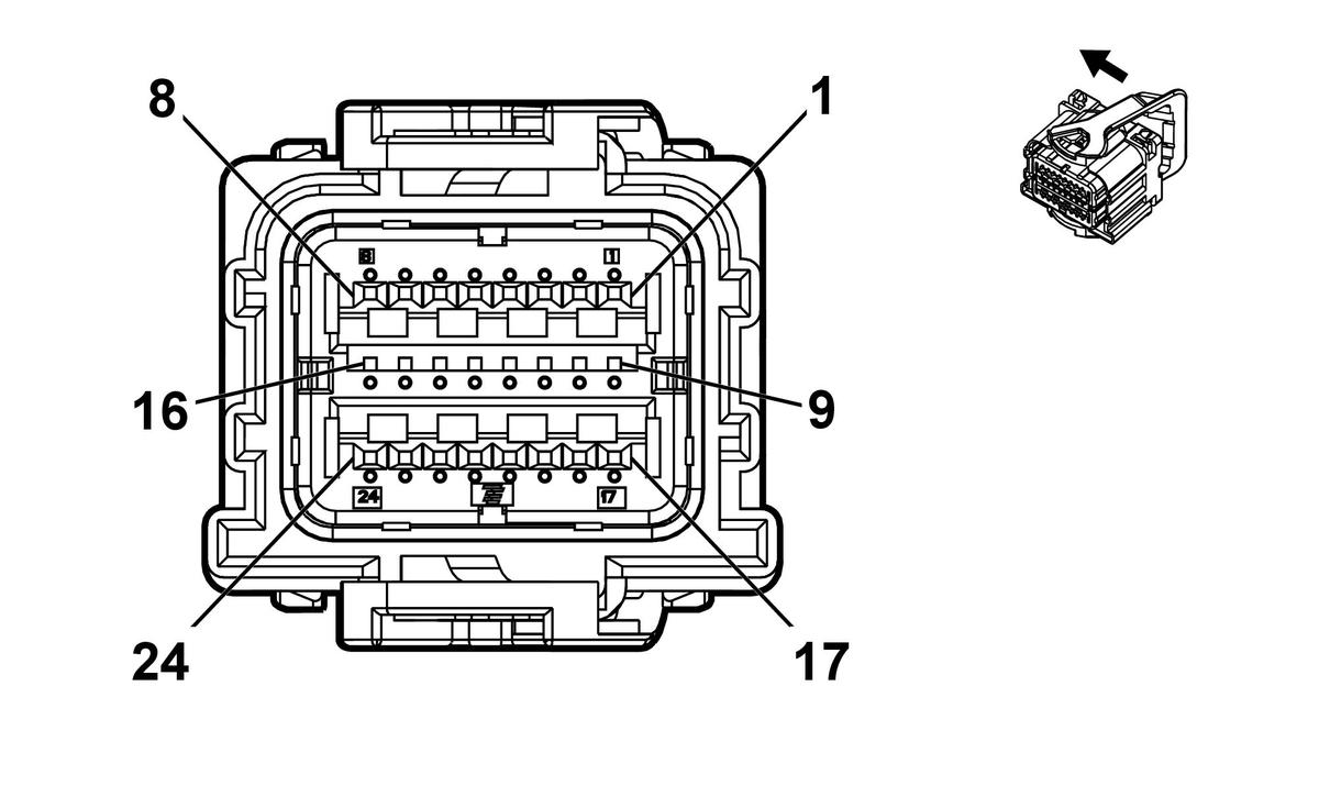
GM5582370Courtesy of GENERAL MOTORS COMPANY
Connector Part Information
  • Harness Type:Instrument Panel Wiring Harness
  • OEM Connector: 35412840
  • Service Connector: 13579297
  • Description: 24-Way F 0.64 Series, Sealed (YE)
Terminal Part Information

Terminal Type ID Terminated Lead Diagnostic Test Probe Terminal Removal Tool
I 13580076 J-35616-64B (L-BU) J-38125-215A
Pin Size Color Circuit Function Terminal Type ID Option
1 0.35 RD/GN 4440 Battery Positive Voltage I -
2 0.5 VT/GY 1839 Run/Crank Ignition 1 Voltage I -
3 0.5 OG/VT 3021 Steering Wheel Air Bag Stage 1 High Control I -
4 0.5 BN/OG 3020 Steering Wheel Air Bag Stage 1 Low Control I -
5 0.5 OG/WH 3024 Passenger Instrument Panel Air Bag Stage 1 Low Control I -
6 0.5 YE/OG 3025 Passenger Instrument Panel Air Bag Stage 1 High Control I -
7 0.35 WH 4986 AUTOSAR CAN Bus [-] 1 Serial Data I -
8 0.35 BU 4987 AUTOSAR CAN Bus [+] 1 Serial Data I -
9 - 10 - - - Not Occupied - -
11 0.5 OG/GN 3023 Steering Wheel Air Bag Stage 2 High Control I -
12 0.5 WH/OG 3022 Steering Wheel Air Bag Stage 2 Low Control I -
13 0.5 OG/VT 3026 Passenger Instrument Panel Air Bag Stage 2 Low Control I -
14 0.5 GY/OG 3027 Passenger Instrument Panel Air Bag Stage 2 High Control I -
15 0.5
0.35
WH
WH
4986
4986
AUTOSAR CAN Bus [-] 1 Serial Data
AUTOSAR CAN Bus [-] 1 Serial Data
I
I
AL0-F55
-AX7
16 0.5
0.35
BU
BU
4987
4987
AUTOSAR CAN Bus [+] 1 Serial Data
AUTOSAR CAN Bus [+] 1 Serial Data
I
I
AL0-F55
-AX7
17 0.5 BK/WH 1751 Signal Ground I -
18 - - - Not Occupied - -
19 0.5 OG/BU 3078 Driver Knee Air Bag High Control I -
20 0.5 GY/OG 3079 Driver Knee Air Bag Low Control I -
21 0.5 WH/OG 3077 Passenger Knee Air Bag Low Control I -
22 0.5 OG/BU 3076 Passenger Knee Air Bag High Control I -
23 - 24 - - - Not Occupied - -